Curiosii for ever!: Car repair manuals for everyone.

Cylinder Head/Upper Engine



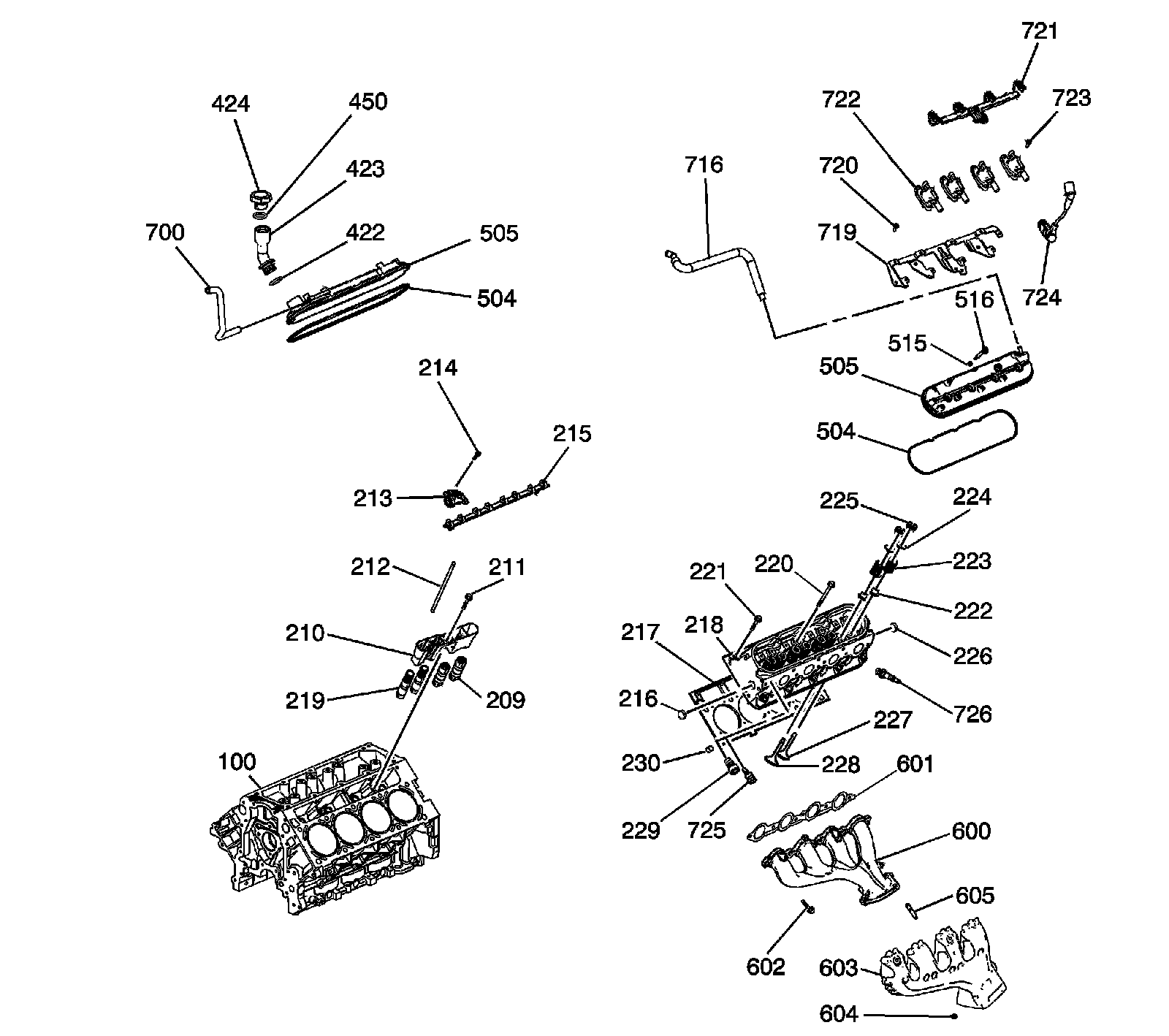
Disassembled Views

Cylinder Head/Upper Engine

Cylinder Head/Upper Engine:




100 - Engine Block
209 - Valve Lifter - Non Active Fuel Management
210 - Valve Lifter Guide
211 - Bolt
212 - Pushrod
213 - Valve Rocker Arm
214 - Bolt
215 - Valve Rocker Arm Pivot Support
216 - Core Hole Plug
217 - Cylinder Head Gasket
218 - Cylinder Head
219 - Valve Lifter - Active Fuel Management
220 - Bolt - M11
221 - Bolt - M8
222 - Valve Stem Oil Seal
223 - Valve Spring
224 - Valve Spring Cap
225 - Valve Stem Key
226 - Core Hole Plug
227 - Intake Valve
228 - Exhaust Valve
229 - Cylinder Head Plug
230 - Cylinder Head Locating Pin
422 - Oil Fill Tube O-Ring
423 - Oil Fill Tube
424 - Oil Fill Cap
450 - Oil Fill Cap O-Ring
504 - Valve Cover Gasket
504 - Valve Cover Gasket
505 - Valve Cover
505 - Valve Cover
515 - Valve Cover Bolt Grommet
516 - Bolt
600 - Exhaust Manifold
601 - Exhaust Manifold Gasket
602 - Bolt
603 - Exhaust Manifold Heat Shield
604 - Bolt
605 - Stud
700 - Positive Crankcase Ventilation (PCV) Hose - Fresh Air
716 - PCV Hose - Dirty Air
719 - Ignition Coil Bracket
720 - Stud
721 - Ignition Coil Wire Harness
722 - Ignition Coil
723 - Bolt
724 - Spark Plug Wire
725 - Coolant Temperature Sensor
726 - Spark Plug