Curiosii for ever!: Car repair manuals for everyone.

Quarter Window Replacement



QUARTER WINDOW REPLACEMENT

TOOLS REQUIRED
- J 39032 Stationary Glass Removal Tool
- Urethane Adhesive Kit GM P/N 12346392 or Equivalent
- Isopropyl Alcohol or Equivalent
- Cartridge-type Caulking Gun
- Commercial-type Utility Knife
- Razor Blade Scraper
- Suction Cups
- Plastic Paddle

REMOVAL PROCEDURE

1. CAUTION: If a window is cracked but still intact, crisscross the window with masking tape in order to reduce the risk of damage or personal injury.

IMPORTANT: Before cutting out a stationary window, apply a double layer of masking tape around the perimeter of the painted surfaces and the interior trim.

Open the endgate window.




2. Remove the upper rear roof applique.





3. CAUTION: Refer to Glass and Sheet Metal Handling Caution.

IMPORTANT: Keep the cutting edge of the tool against the window. Do this from inside the vehicle.

This will allow the urethane adhesive to be separated from the window.
- Leave a base of urethane on the pinch-weld flange.
- The only suitable lubrication is clear water.
- Use J 39032 or equivalent in order to remove the window.




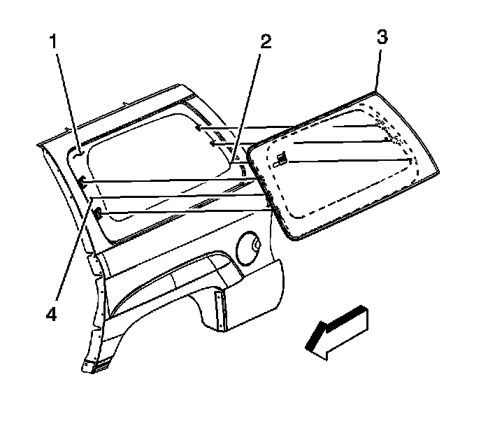
4. With the aid of an assistant, remove the quarter window (3) from the opening.

INSTALLATION PROCEDURE




1. Install the body side stationary window (3) into the opening.
2. Remove the double layer of masking tape around the perimeter of the painted surfaces and the interior trim.




3. Install the upper rear roof applique.
4. Inspect the radio or the OnStar(R) system, if equipped, to verify reception.
5. Close the endgate window.