Curiosii for ever!: Car repair manuals for everyone.

Knock Sensor Replacement 1



KNOCK SENSOR 1 REPLACEMENT

REMOVAL PROCEDURE




1. Drain the cooling system/engine block. Refer to Draining and Filling Cooling System (Static Fill) Draining and Filling Cooling System (w/RPO HP2) Draining and Filling Cooling System (Vac-N-Fill).
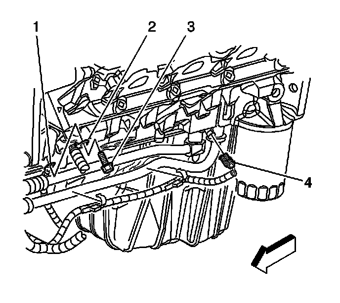
2. Disconnect the knock sensor electrical connector (4).




3. Remove the knock sensor.

INSTALLATION PROCEDURE

NOTE: Refer to Fastener Notice.




1. Install the knock sensor.

Tighten the sensor to 20 N.m (15 lb ft).




2. Connect the knock sensor electrical connector (4).
3. Fill the cooling system/engine block. Refer to Draining and Filling Cooling System (Static Fill) Draining and Filling Cooling System (w/RPO HP2) Draining and Filling Cooling System (Vac-N-Fill).