Curiosii for ever!: Car repair manuals for everyone.

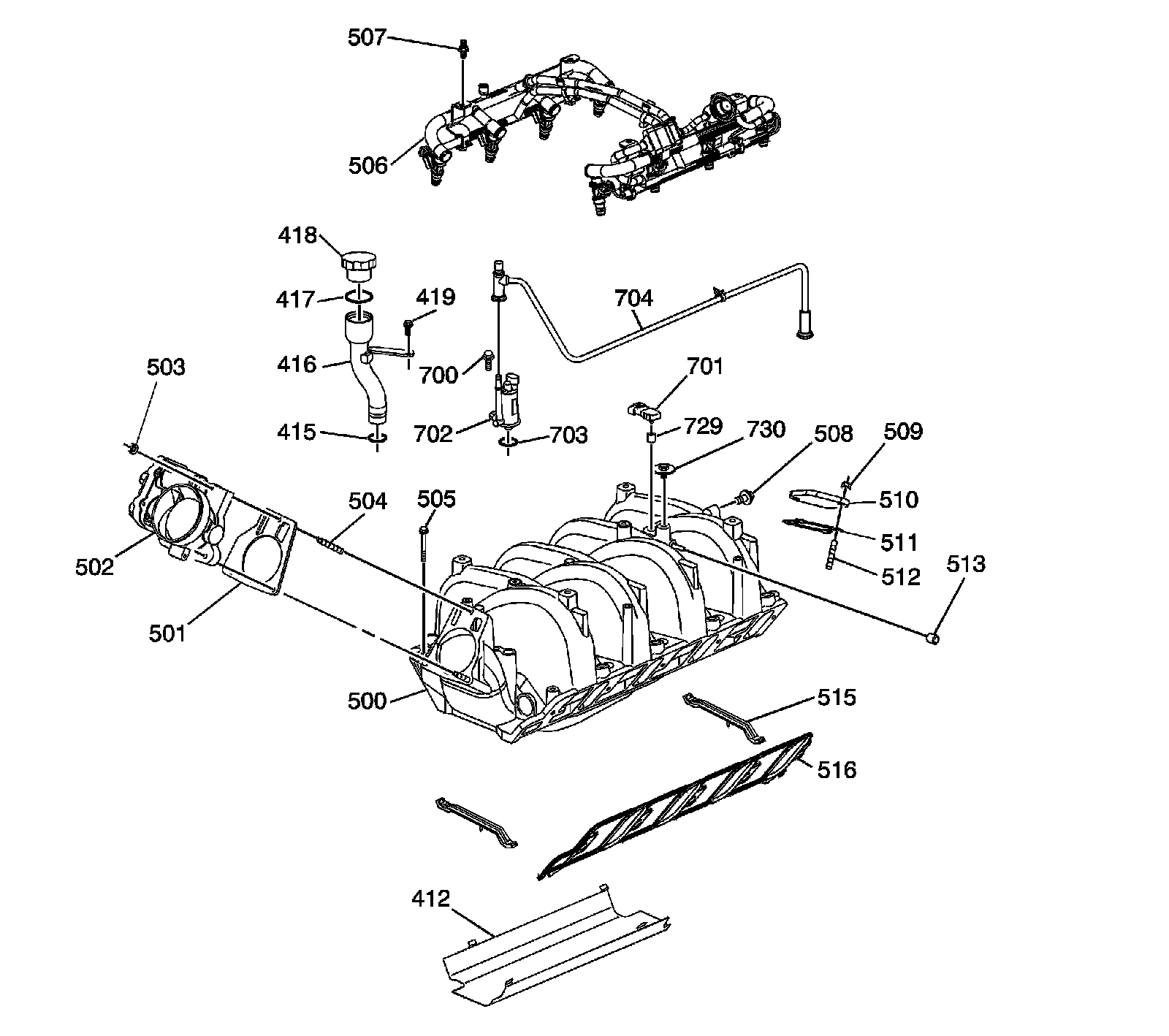
Intake Manifold/Upper Engine



Disassembled Views

Intake Manifold/Upper Engine:





412 - Splash Shield
415 - Oil Fill Tube O-ring
416 - Oil Fill Tube
417 - Oil Fill Cap O-ring
418 - Oil Fill Cap
419 - Oil Fill Tube Bolt
500 - Intake Manifold
501 - Throttle Body Gasket
502 - Throttle Body
503 - Throttle Body Nut
504 - Throttle Body Stud
505 - Intake Manifold Bolt
506 - Fuel Rail with Injectors
507 - Fuel Rail Bolt/Stud
508 - Intake Manifold Plug
509 - Exhaust Gas Recirculation (EGR) Valve Opening Cover Nut
510 - EGR Valve Opening Cover
511 - EGR Valve Opening Cover Gasket
512 - EGR Valve Opening Cover Stud
513 - Vacuum Fitting Plug
515 - Intake Gasket - End Seal
516 - Intake Gasket - Side
700 - Evaporative Emission (EVAP) Canister Purge Solenoid Valve Bolt
701 - Manifold Absolute Pressure (MAP) Sensor
702 - EVAP Canister Purge Solenoid Valve
703 - EVAP Valve O-ring
704 - EVAP Tube
729 - MAP Sensor Grommet
730 - MAP Sensor Bolt