Curiosii for ever!: Car repair manuals for everyone.

Ignition Switch: Service and Repair





Ignition and Start Switch Replacement

Special Tools

- J-42759 Ignition Switch Connector Release Tool

Removal Procedure

Caution: When performing service on or near the SIR components or the SIR wiring, the SIR system must be disabled. Refer to SIR Disabling and Enabling Service and Repair. Failure to observe the correct procedure could cause deployment of the SIR components, personal injury, or unnecessary SIR system repairs.

1. Remove the theft deterrent module. Refer to Theft Deterrent Module Replacement Service and Repair.
2. Disconnect the passlock and key buzzer from the ignition lock cylinder case.






3. Insert release tool J-42759 into the ignition lock cylinder case to release the tabs on the ignition/start switch.
4. Pull the ignition and start switch out of the ignition lock cylinder case.
5. Disconnect the electrical connector from the ignition/start switch.

Installation Procedure






Important: The gears between the ignition/start switch and the ignition lock cylinder case must be in the correct position. Failure to do so will cause a misalignment of the gears in the ignition/start switch and the ignition lock cylinder case , which may result in a NO START or BATTERY DRAIN.

1. Verify the alignment of the gear (1) in the ignition and start switch (2). If the gear (1) is not in the position shown then turn the gear in the ignition and start switch (2) until you reach the correct position.






Important: In order to reach a stop while rotating the ignition lock cylinder case gear you MUST push and hold in the solenoid on the electric park lock.

2. Use a screwdriver to rotate the ignition lock cylinder case gear counterclockwise until it hits the stop.
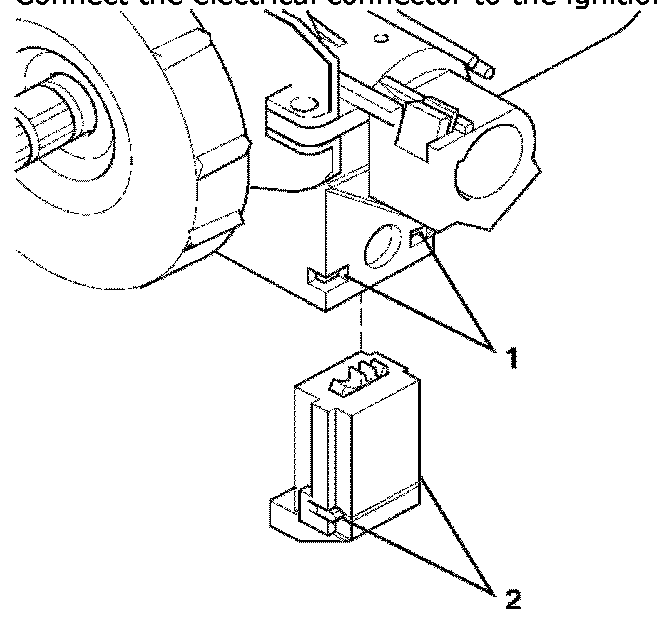
3. Connect the electrical connector to the ignition and start switch.






4. Insert the ignition and start switch into the ignition lock cylinder case. The tabs (2) on the ignition/start switch MUST be seated inside the ignition lock cylinder case (1) for proper installation.






5. Use a screwdriver to rotate the ignition lock cylinder case gear clockwise to the START position allowing it to spring return into the RUN position.
6. Connect the passlock and key buzzer to the ignition lock cylinder case.
7. Install the theft deterrent module. Refer to Theft Deterrent Module Replacement Service and Repair.