Curiosii for ever!: Car repair manuals for everyone.

Air Bag



SIR Connector End Views

Inflatable Restraint Front Passenger Presence System (PPS) Module














Inflatable Restraint I/P Module C1














Inflatable Restraint I/P Module C2














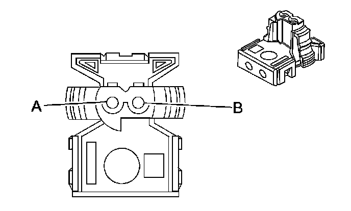
Inflatable Restraint Roof Rail Module - Left (ASF)














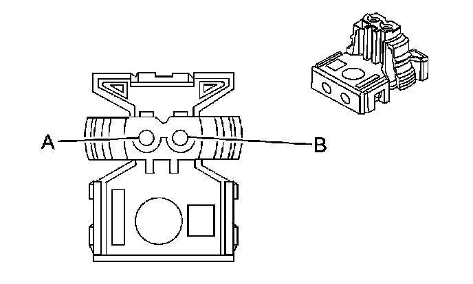
Inflatable Restraint Roof Rail Module - Right (ASF)














Inflatable Restraint Steering Wheel Module C1














Inflatable Restraint Steering Wheel Module C2