Curiosii for ever!: Car repair manuals for everyone.

Pressure Regulating Solenoid: Service and Repair



Pressure Control Solenoid Replacement

Removal Procedure

Important: Retainer clips hold in each of the valve line-ups. Use a small screwdriver in order to remove the retainer clips. Be careful not to score the valve body when removing the retainer clips and valves. Before removing the valve line-ups, inspect each valve line-up for freedom of movement.




1. Remove the transmission side cover. Refer to Control Valve Body Cover Replacement
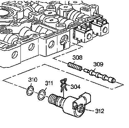
2. Remove the Pressure Control Solenoid (PCS) retainer clip (304), the PCS with two O-rings and screen (312, 309, 310), the torque signal regulator valve (309), and the torque signal regulator spring (308).

Installation Procedure




1. Install the torque signal regulator spring (308), the torque signal regulator valve (309), the Pressure Control Solenoid (PCS) with two O-rings and screen (312, 309, 310) and the PCS retainer clip (304).
2. Install the transmission side cover. Refer to Control Valve Body Cover Replacement.

Important: It is recommended that transmission adaptive pressure (TAP) information be reset.

Resetting the TAP values using a scan tool will erase all learned values in all cells. As a result, The ECM, PCM or TCM will need to relearn TAP values. Transmission performance may be affected as new TAP values are learned.

3. Reset the TAP values. Refer to Transmission Adaptive Functions.