Curiosii for ever!
: Car repair manuals for everyone.
Home
>>
Chevy Truck
>>
2007
>>
HHR L4-2.2L
>>
Repair and Diagnosis
>>
Heating and Air Conditioning
>>
Evaporator Core
>>
Service and Repair
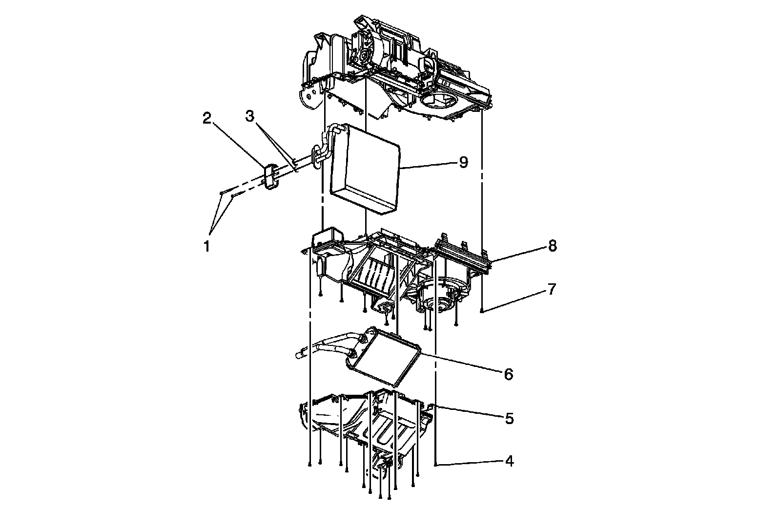
Evaporator Core: Service and Repair
Evaporator Core
Replacement