Curiosii for ever!: Car repair manuals for everyone.

Rear Disc Brake Hardware Replacement



Rear Disc Brake Hardware Replacement

Caution: Refer to Brake Dust Caution.

Removal Procedure

1. Raise and support the vehicle. Refer to Vehicle Lifting.
2. Remove the tire and wheel assembly.





Notice: Support the brake caliper with heavy mechanic wire, or equivalent, whenever it is separated from its mount and the hydraulic flexible brake hose is still connected. Failure to support the caliper in this manner will cause the flexible brake hose to bear the weight of the caliper, which may cause damage to the brake hose and in turn may cause a brake fluid leak.

3. Remove the brake caliper from the brake caliper mounting bracket and support the brake caliper with heavy mechanic wire or equivalent. DO NOT disconnect the hydraulic brake hose from the caliper.
4. Remove the disc brake pads from the brake caliper mounting bracket.
5. Remove the disc brake pad retainers from the brake caliper mounting bracket.




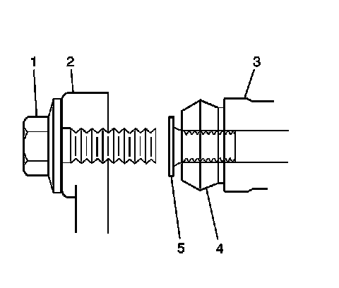
6. Remove the caliper slide pins (5) from the brake caliper mounting bracket (3).
7. Remove the caliper slide pin boots (4) from the brake caliper mounting bracket.
8. Inspect the disc brake hardware. Refer to Rear Disc Brake Mounting and Hardware Inspection.

Installation Procedure

1. Lubricate the brake caliper mounting bracket bushings and the caliper slide pins with high temperature silicone brake lubricant.




2. Install the caliper slide pin boots (4) to the disc brake caliper mounting bracket.
3. Install the caliper slide pins (5) to the brake caliper mounting bracket (3).
4. Install the disc brake pad retainers to the brake caliper mounting bracket.
5. Install the disc brake pads to the brake caliper mounting bracket.
6. Install the disc brake caliper to the brake caliper mounting bracket.
7. With the engine OFF, gradually apply the brake pedal approximately 2/3 of its travel distance.
8. Slowly release the brake pedal.
9. Wait 15 seconds, then repeat steps 7-8 until a firm brake pedal is obtained. This will properly seat the brake caliper pistons and brake pads.
10. Lower the vehicle.