Curiosii for ever!: Car repair manuals for everyone.

System Diagram



SIR Connector End Views

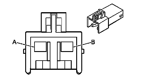
Inflatable Restraint Front End Sensor (Heavy Duty)














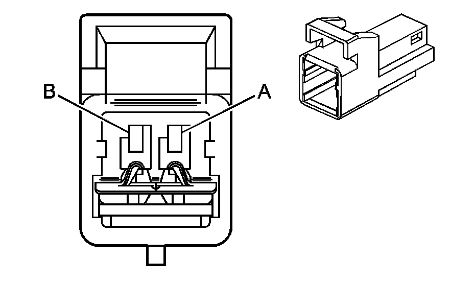
Inflatable Restraint Front End Sensor (Light Duty)














Inflatable Restraint I/P Module (Heavy Duty)














Inflatable Restraint I/P Module (Light Duty)














Inflatable Restraint I/P Module Disable Switch (Heavy Duty)














Inflatable Restraint PASSENGER AIR BAG ON/OFF Indicator (Light Duty w/o YF7)














Inflatable Restraint Passenger Presence System (PPS) Module (Light Duty w/o YF7)














Inflatable Restraint Seat Position Sensor (SPS) - Left (Light Duty)

A/T Shift Lock Control Solenoid:














Inflatable Restraint Seat Position Sensor (SPS) - Right (Light Duty)

A/T Shift Lock Control Solenoid:














Inflatable Restraint Sensing and Diagnostic Module (SDM)














Inflatable Restraint Steering Wheel Module (Heavy Duty)














Inflatable Restraint Steering Wheel Module - C1 (Light Duty)














Inflatable Restraint Steering Wheel Module - C2 (Light Duty)














Seat Belt Buckle Driver - C2 (Light Duty)














Seat Belt Buckle Passenger - C2 (Light Duty)