Curiosii for ever!: Car repair manuals for everyone.

Front Fender Filler Panel Replacement - Upper



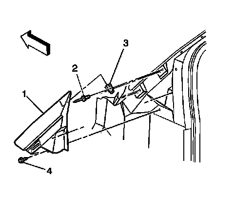
Upper Front Fender Filler Panel Replacement

Removal Procedure

1. Place a protective covering at the top of the fender.




2. Remove the upper fender filler panel applique.
3. Remove the bolt (4) retaining the upper filler panel (1) to the body.
4. Remove the upper filler panel (1) from the retaining clips.
5. Remove the upper filler panel (1) from the vehicle.

Installation Procedure




1. Install the upper fender filler panel (1) to the vehicle.
2. Install the upper fender filler panel (1) under the windshield molding.
Install the upper fender filler panel (1) onto the retaining clips.

Notice: Refer to Fastener Notice.

3. Install the bolt (4) in order to retain the upper fender filler panel (1) to the body.

Tighten the bolt (4) to 2 N.m (18 lb in).

4. Install the upper fender filler panel applique.
5. Remove the protective covering from the fender.