Windshield Washer Pump: Service and Repair
WASHER PUMP REPLACEMENT
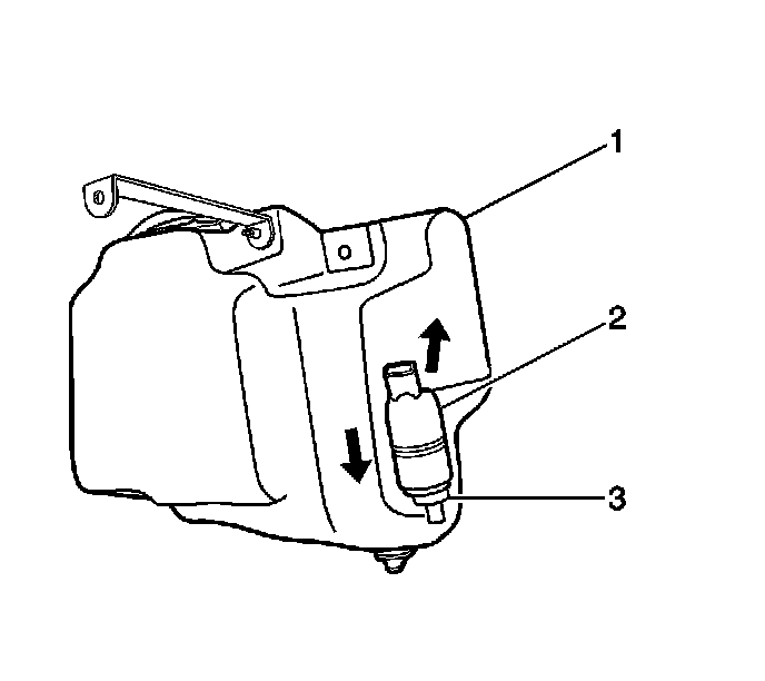
REMOVAL PROCEDURE
1. Raise and support the hood.
2. Remove the washer solvent container.
3. Pull the top of the pump (2) outward in order to release the pump from the container.
4. Using 2 flat-bladed tools under the pump, gently pry in opposite directions in order to release the pump from the grommet.
5. Remove the washer pump (2) from the washer container.
6. Discard the washer pump (2) and grommet.
INSTALLATION PROCEDURE
1. Install the new washer pump grommet (3) into the washer solvent container (1).
2. Use clean washer solvent on the washer pump intake spout in order to aid in the installation of the new washer pump.
3. Apply downward pressure onto the pump (2) in order to seat the pump to the grommet.
4. Secure the top of the pump to the washer container.
5. Install the washer solvent container.
6. Close the hood.