Curiosii for ever!
: Car repair manuals for everyone.
Home
>>
Chevy Truck
>>
2006
>>
SSR V8-6.0L VIN H
>>
Repair and Diagnosis
>>
Diagrams
>>
Connector Views
>>
Transmission Control Systems
Transmission Control Systems
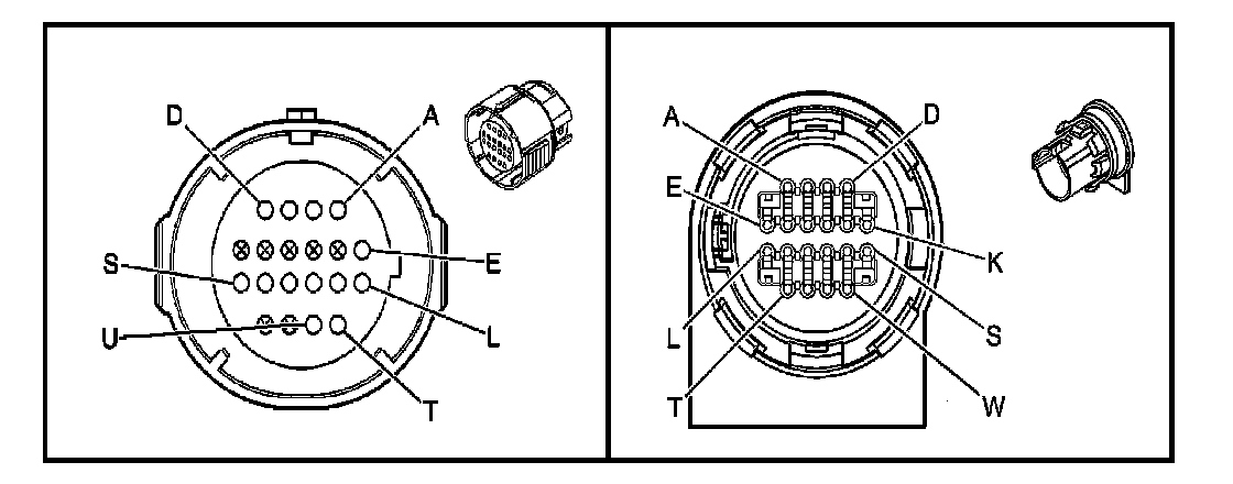
Automatic Transmission Inline 20-Way Connector End View
Engine Side to Transmission Side:
Engine Side to Transmission Side: