Curiosii for ever!: Car repair manuals for everyone.

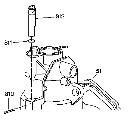
41. Actuator Guide Replacement



Actuator Guide Replacement

Important:
Do not remove the actuator guide unless the actuator guide appears damaged.





1. Remove the actuator guide roll pin (810) from the case.
2. Remove the actuator guide (812) and O-ring seal (811) assembly from the case (51). For easiest removal, tap the actuator guide (812) into the case (51).
3. Install a new O-ring seal (811) on the actuator guide (812).
4. Install the actuator guide (812) and O-ring assembly (811) into the transmission case (51).
5. Install the actuator guide roll pin (810) into the case (51) in order to secure the actuator guide (812).