Curiosii for ever!: Car repair manuals for everyone.

Unit Repair Manual



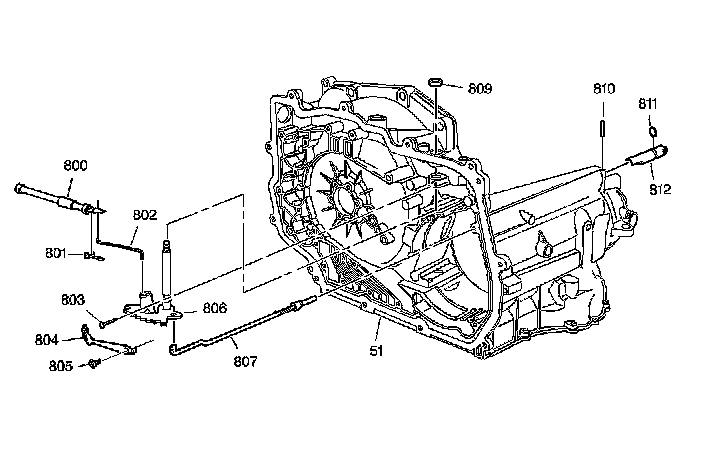
Disassembled Views

Manual Shaft, Parking Pawl and Actuator Assembly:





51 - Transaxle Case
800 - Manual Valve
801 - Manual Valve to Link Clip
802 - Manual Valve to Detent Lever Link
803 - Manual Shaft to Case Pin
804 - Manual Detent Spring and Roller Assembly
805 - Spring and Roller Assembly to Channel Plate Bolt
806 - Manual Shaft and Detent Lever Assembly
807 - Parking Lock Actuator Assembly
809 - Manual Shaft to Case Seal
810 - Actuator Guide Spring Pin
811 - Actuator Guide Seal
812 - Actuator Guide