Curiosii for ever!: Car repair manuals for everyone.

Manifold Pressure/Vacuum Sensor: Service and Repair



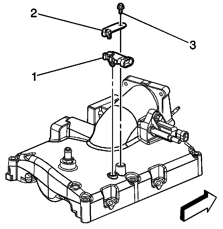
MANIFOLD ABSOLUTE PRESSURE (MAP) SENSOR REPLACEMENT

REMOVAL PROCEDURE
1. Disconnect the manifold absolute pressure (MAP) sensor electrical connector.




2. Remove the MAP sensor retaining bolt (3) and bracket (2).
3. Remove the MAP sensor (1) and the MAP sensor port seal if it is still retained in the intake manifold.

INSTALLATION PROCEDURE




1. Install the MAP sensor (1) to the intake manifold.
2. Install the MAP sensor retaining bracket (2) and bolt (3).

Tighten the bolt to 10 N.m (89 lb in).

NOTE: Refer to Fastener Notice in Service Precautions.

3. Connect the MAP sensor electrical connector.