Curiosii for ever!: Car repair manuals for everyone.

Clutch Switch: Service and Repair



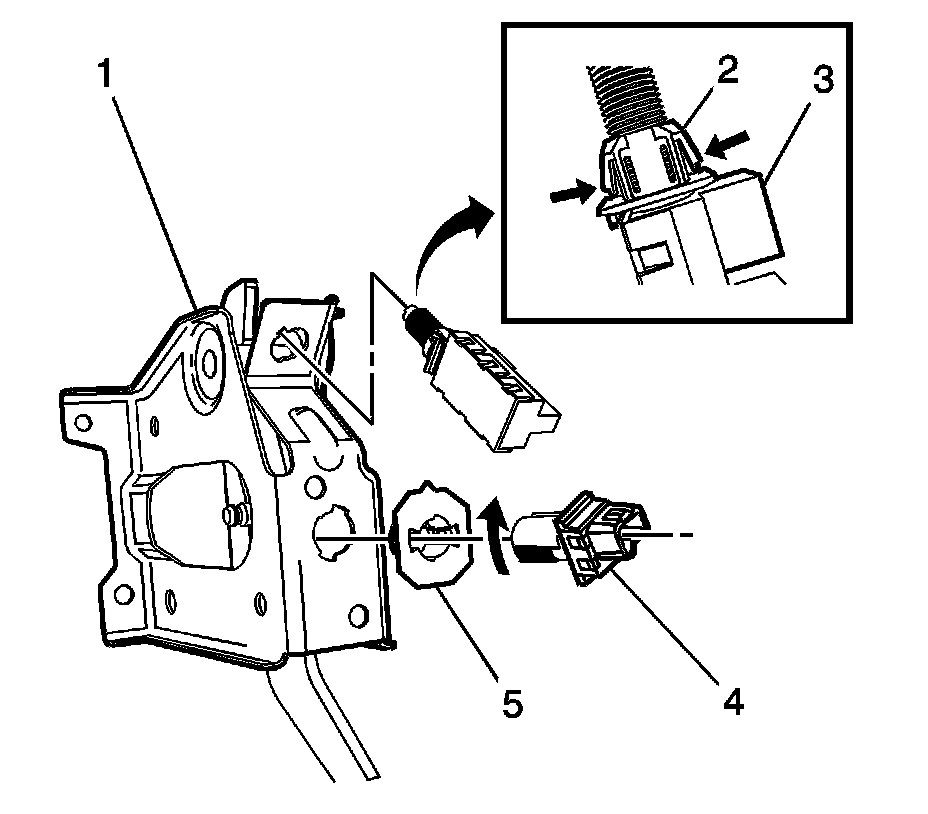
CLUTCH PEDAL CRUISE CONTROL RELEASE SWITCH REPLACEMENT

REMOVAL PROCEDURE




1. Disconnect the electrical connector (4) from the clutch release switch (3).




2. Complete the following in order to remove the clutch release switch (4) from the clutch pedal bracket (1):
1. Rotate the switch (4) counterclockwise.
2. Pull the switch (4) from the retainer (5).
3. Push the locking tabs inward to release the retainer (5).

INSTALLATION PROCEDURE




1. Slide only the clutch release switch retainer (5) into the clutch pedal bracket (1), until the locking tabs are fully engaged.




2. Connect the electrical connector (4) to the clutch release switch (3).
3. Adjust the clutch release switch (3). Refer to Clutch Pedal Cruise Control Release Switch Adjustment.