Curiosii for ever!: Car repair manuals for everyone.

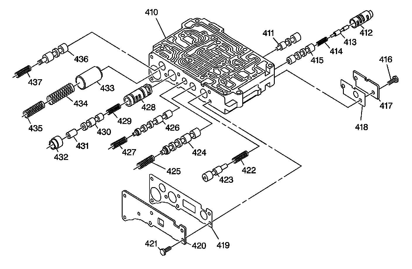
Rear Control Valve Body Assembly

Rear Control Valve Body Assembly

Rear Control Valve Body Assembly:





410 - Rear Control Valve Body
411 - 1-2 Reverse Clutch (B5) Control Valve
412 - Lock Up Relay Control Valve Sleeve
413 - Lock Up Relay Control Valve Plunger
414 - Lock Up Relay Valve Spring - Red
415 - Lock Up Relay Valve
416 - Rear Valve Body Cover Plate Bolt - Hexagon (M5 x 0.8 x 13) (2)
417 - Rear Valve Body Cover Plate
418 - Rear Valve Body Cover Plate Gasket
419 - Rear Valve Body Cover Plate Gasket
420 - Rear Valve Body Cover Plate
421 - Rear Valve Body Cover Plate Bolt - Hexagon (M5 x 0.8 x 13) (7)
422 - 3rd Gear Band (B4) Control Valve Spring - Orange
423 - 3rd Gear Band (B4) Control Valve
424 - Shift Pressure Relay Valve
425 - Shift Pressure Relay Valve Spring - Light Green
426 - M2 Shift Valve
427 - M2 Shift Valve Spring - Light Blue
428 - Shift Pressure Control Valve Sleeve
429 - Shift Pressure Control Valve Spring - White
430 - Shift Pressure Control Valve
431 - Shift Pressure Control Valve Plunger
432 - Shift Pressure Control Valve Plunger Sleeve
433 - Line Pressure Control (SLT) Accumulator Piston
434 - Line Pressure Control (SLT) Accumulator Piston Spring - Outer - Orange
435 - Line Pressure Control (SLT) Accumulator Piston Spring - Inner - Orange
436 - Secondary Regulator Valve
437 - Secondary Regulator Valve Spring - Natural Color