Curiosii for ever!: Car repair manuals for everyone.

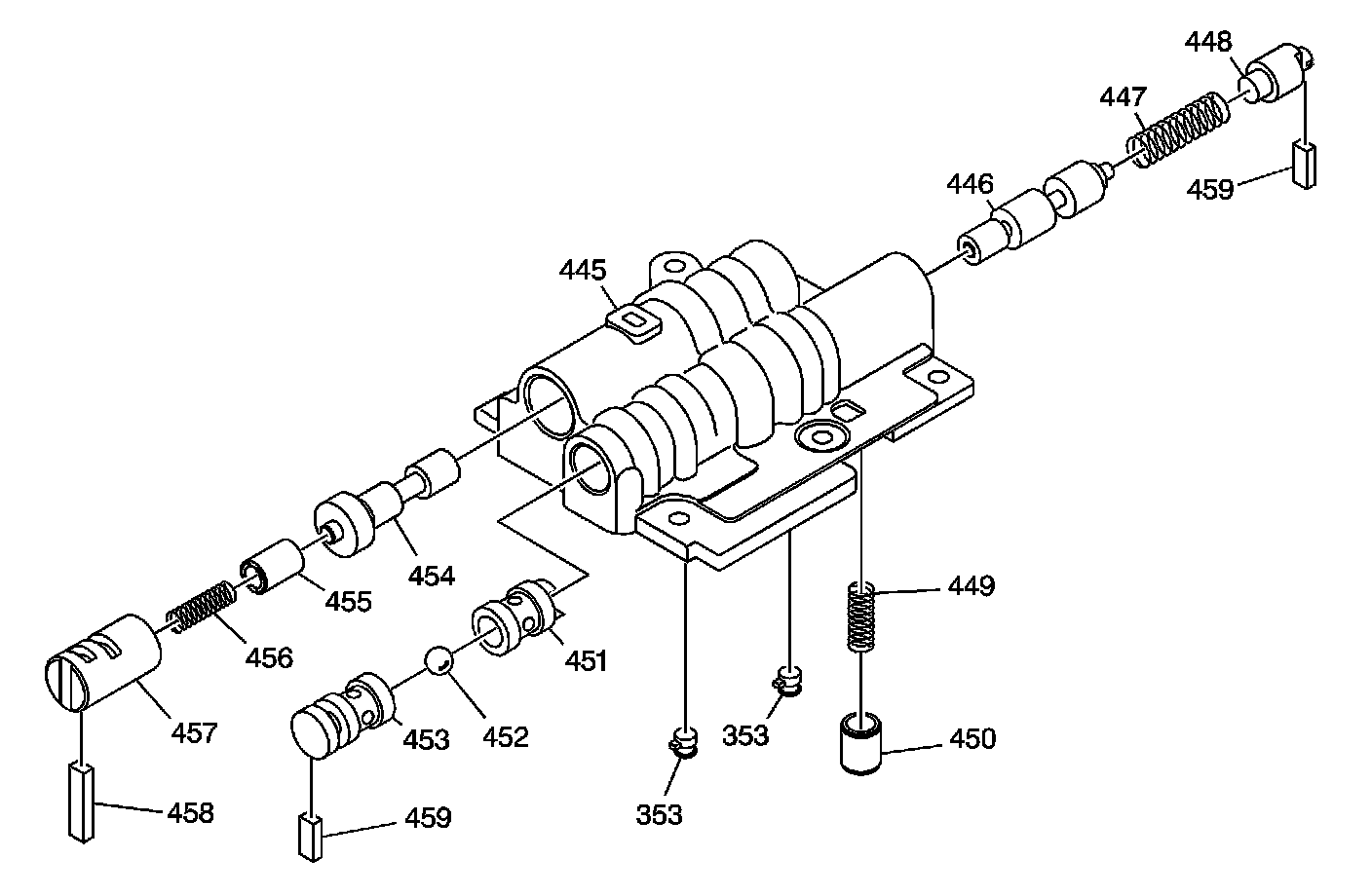
No. 2 Rear Control Valve Body Assembly

No. 2 Rear Control Valve Body Assembly

No. 2 Rear Control Valve Body Assembly:





353 - Accumulator Check Valve Assembly (2)
353 - Accumulator Check Valve Assembly (2)
445 - No. 2 Rear Control Valve Body
446 - 2nd Clutch (B2) Control Valve
447 - 2nd Clutch (B2) Control Valve Spring - Natural Color
448 - 2nd Clutch (B2) Control Valve Plug
449 - TCC Check Valve Spring - Light Blue
450 - TCC Check Valve
451 - Reverse Shift Restrict Ball Check Valve Bushing - Inner
452 - Reverse Shift Restrict Ball Check Valve
453 - Reverse Shift Restrict Ball Check Valve Bushing - Outer
454 - Lock Up Control Valve
455 - Lock Up Control Valve Plunger
456 - Lock Up Control Valve Spring - Yellow
457 - Lock Up Control Valve Sleeve
458 - Sleeve/Bore Plug Retainer (3.2 x 5 x 21.2)
459 - Sleeve/Bore Plug Retainer (3.2 x 5 x 15) (2)
459 - Sleeve/Bore Plug Retainer (3.2 x 5 x 15) (2)