Curiosii for ever!
: Car repair manuals for everyone.
Home
>>
Chevy Truck
>>
2004
>>
Venture AWD V6-3.4L VIN E
>>
Repair and Diagnosis
>>
Powertrain Management
>>
Transmission Control Systems
>>
Diagrams
>>
Electrical Diagrams
>>
Automatic Transmission Controls Schematics
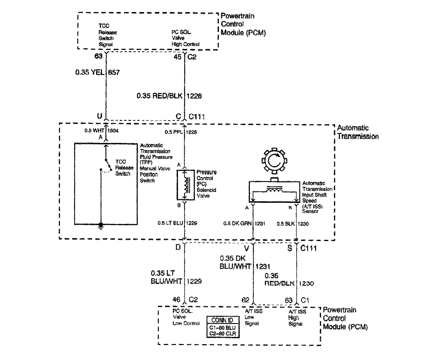
Automatic Transmission Controls Schematics
Automatic Transmission Controls Diagrams (Automatic Transmission):