Curiosii for ever!
: Car repair manuals for everyone.
Home
>>
Chevy Truck
>>
2004
>>
TrailBlazer 4WD V8-5.3L VIN P
>>
Repair and Diagnosis
>>
Specifications
>>
Mechanical Specifications
>>
Engine
>>
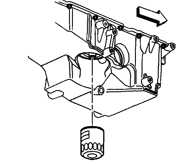
Oil Filter, Engine
Oil Filter, Engine
Lubricate the
oil filter
seal with clean engine oil.
Oil Filter
0 Nm (22 ft. lbs.)