Curiosii for ever!
: Car repair manuals for everyone.
Home
>>
Chevy Truck
>>
2004
>>
TrailBlazer 4WD L6-4.2L VIN S
>>
Repair and Diagnosis
>>
Specifications
>>
Mechanical Specifications
>>
Engine
>>
Cylinder Head Assembly
>>
System Specifications
>>
Thread Repair Specifications
>>
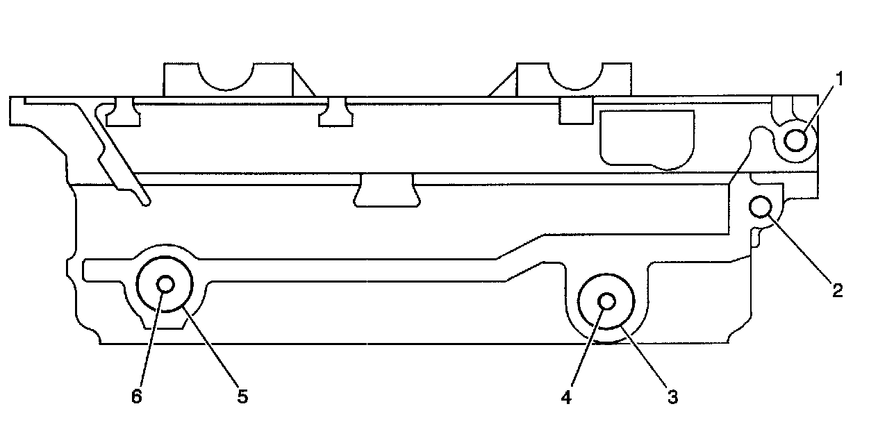
Cylinder Head - End View (Front)
Cylinder Head - End View (Front)
Cylinder Head - End View (Front)
Part 1 of 2
Part 2 of 2