Curiosii for ever!: Car repair manuals for everyone.

5. Gearshift Shafts and Gearshift Forks Replacement

Removal Procedure

^ Tools Required
^ J 26900-7 Dial Caliper





1. Remove the backup lamp switch (1) from the upper case (3).
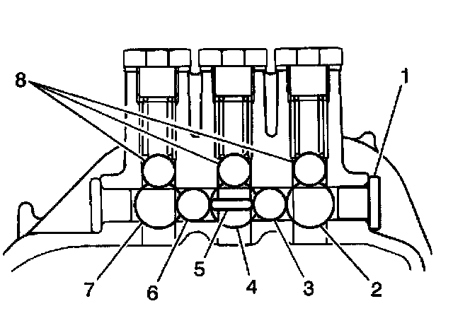
2. Remove the following components from the upper case (3):
2.1. The three locating spring bolts (2)
2.2. The three set washers
2.3. The three locating springs
2.4. The three locating balls

Important: When removing any gearshift shaft, the interlock system will prevent gearshift shaft removal unless the other two gearshift shafts are in the neutral position.

3. Place all three of the gearshift shafts in the neutral position.





4. Remove the following components from the upper case:
4.1. The low speed gearshift fork roll pin (9)
4.2. The low speed gearshift fork (1)
4.3. The low speed gearshift shaft (6)
5. Remove the following components from the upper case:
5.1. The high speed gearshift fork roll pin (3)
5.2. The high speed gearshift fork (2)
5.3. The high speed gearshift shaft (5)
6. Remove the reverse gearshift shaft from the upper case.
7. Remove the following components from the reverse gearshift shaft (4):
7.1. The reverse gearshift fork roll pin (8)
7.2. The reverse gearshift fork (7)
8. Remove the following components from the upper case:
8.1. The one rubber plug
8.2. The two interlock balls
9. Remove the interlock pin from the high speed gearshift shaft.





10. Use the following procedure in order to inspect the gearshift shafts (2,3,4):
10.1. Inspect the gearshift shafts for wear.
10.2. Pay particular attention to the locating groove (5) and gearshift lever groove (1) in the gearshift shafts.
10.3. Replace any gearshift shaft that exhibits excessive wear or damage.
10.4. Insert each gearshift shaft into the upper case.
10.5. Test each gearshift for smooth operation while working back and forth.
10.6. If any gearshift shaft binds, carefully sand the contact surfaces with an emery cloth in order to correct the problem.





11. Use a feeler gage (3) in order to measure the clearance between the gearshift fork (2) and the synchronizer sleeve (1). If the clearance exceeds 1.0 mm (0.039 inch), replace the fork (2) and the synchronizer sleeve (1) as necessary.





12. Use the J 26900-7 in order to measure the locating spring (1) length. The standard locating spring length is 24.0 to 27.0 mm (0.945 to 1.063 inch). If a spring is less than 24.0 mm (0.945 inch), replace the spring.

Installation Procedure





Important: The reverse gearshift fork roll pin (3) is 5 mm (0.187 inch) longer than the low speed gearshift fork roll pin (2) and the high speed gearshift fork roll pin (1).

The clearance between the low speed and high speed gearshift forks and the upper case will allow the removal of a roll pin that measures 25 mm (0.98 inch) or less.
If the reverse gear shift fork roll pin is installed in the low speed or high speed gearshift fork, the reverse gearshift fork pin will contact the upper case during any future disassembly.
This contact may inhibit transmission operation. It may also make gearshift fork removal impossible.

1. Install the reverse gearshift fork (4) to the reverse gearshift shaft (5). Use the reverse gearshift fork roll pin (3) in order to secure the reverse gearshift fork to the reverse gearshift shaft.





Important: When installing the reverse gearshift fork roll pin, do not press the roll pin until it is flush with the gearshift fork.

Allow a 3.5 to 4.5 mm (0.138 to 0.177 inch) protrusion above the gearshift fork.

2. Install the following components into the upper case:
2.1. The reverse gearshift shaft (3)
2.2. The interlock ball
3. Place the reverse gearshift shaft into the neutral position.
4. Fit the interlock pin into the high speed gearshift shaft.





5. Install the high speed gearshift shaft (3) into the upper case with the high speed gearshift fork. Use the high speed gearshift fork roll pin in order to secure the high speed gearshift shaft to the upper case.
6. Install the interlock balls (1) into the upper case.
7. Place the high speed gearshift shaft into the neutral position.
8. Install the low speed gearshift shaft into the upper case with the low speed gearshift fork. Use the low speed gearshift fork roll pin in order to secure the low speed gearshift shaft to the uppercase.





9. Apply Loctite(TM) 599 RTV silicone sealer or equivalent to the rubber plug (1).
10. Install the rubber plug (1) into the upper case.





11. Inspect the interlock system operation:
^ In first or second gear position, a third-to-fourth or a fifth-to-reverse gearshift should not be possible.
^ In reverse gear position, a first-to-second or third-to-fourth gearshift should not be possible.





12. Install the following components into the upper case:
12.1. The three locating balls (8)
12.2. The locating springs
12.3. The three set washers
12.4. The three locating spring bolts Tighten Tighten the locating spring bolts to 28 Nm (21 ft. lbs.).

Notice: Refer to Fastener Notice in Service Precautions.





13. Install the backup lamp switch (1) into the upper case (3).
^ Tighten the backup lamp switch to 20 Nm (15 ft. lbs.).