Curiosii for ever!: Car repair manuals for everyone.

HVAC Control Assembly Replacement

CONTROL ASSEMBLY REPLACEMENT

REMOVAL PROCEDURE




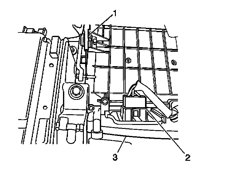
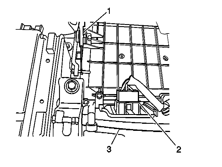
1. Remove the mode control cable (3) at the heater case.
2. Disconnect the defroster switch (1), if equipped.
3. Remove the 2 screws and the defroster switch as necessary.




4. Remove the temperature control cable (1) at the heater case.




5. Open the instrument panel (IP) compartment.
6. Push in the left and right side of the IP compartment and lower the IP compartment.




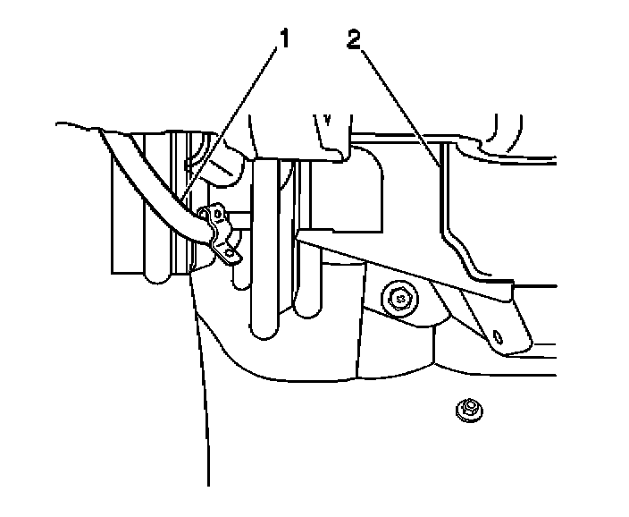
7. Remove the fresh/recirc control cable (1) at the blower case.




8. Disconnect the A/C switch connector (1), if equipped.
9. Remove the IP cluster trim bezel.




10. Pull the knobs (1) from the levers.




11. Gently pry the heater control fascia (4) from the control assembly.
12. Twist and remove the bulb socket (2).
13. Remove the 3 screws (1).




14. Tilt the heater control unit to one side and pull through the IP.
15. Disconnect the blower switch electrical connector (5).
16. Remove the heater control unit from the IP with the cables attached.

IMPORTANT: Note the routing position of the cables in order to facilitate installation.

17. Remove the blower switch from the heater control unit, as necessary.
18. Remove the A/C switch from the heater control unit, as necessary.
19. Disconnect each control cable from the heater control unit:
19.1. Gently pry the temperature control cable (4) sheath from the heater control unit. Unhook the cable from the lever arm.
19.2. Gently pry the mode control cable (1) sheath from the heater control unit. Unhook the cable from the lever arm.
19.3. Gently pry the fresh/recirc control cable (3) from the heater control unit. Unhook the cable from the lever arm.

INSTALLATION PROCEDURE
1. Connect each control cable to the heater control unit by performing the following:
1.1. Hook the end of the cable into the hole in the lever arm.
1.2. Slide the sheath back on the cable.
1.3. Line up the sheath with the sheath retainer.
1.4. Slide the sheath into its retainer until it snaps into place.




2. Install the A/C switch to the heater control unit, as necessary.
3. Install the blower switch to the heater control unit, as necessary.
4. Position the cables and tilt the heater control unit to one side and install to the IP.
5. Connect the blower switch electrical connector (5).




6. Install the bulb socket (2).
7. Install the heater control fascia (4) to the control assembly.
8. Install the 3 screws (1).




9. Install the knobs (1) to the levers.
10. Install the IP cluster trim bezel.




11. Connect the A/C switch connector (1), if equipped.




12. Install the fresh/recirc control cable (1) onto the pin of the fresh/recirc door and install the cable to the clip at the heater case.
13. Close the IP compartment.




14. Install the temperature control cable (1) at the heater case.




15. Install the mode control cable (3) at the heater case.
16. Connect the defroster switch (1), if equipped.
17. Install the defroster switch, if removed. Secure with the 2 screws.
18. Adjust the control cables as necessary. Refer to the following
- Temperature Control Cable Adjustment
- Mode Control Cable Adjustment
- Vent Control Cable Adjustment