Curiosii for ever!: Car repair manuals for everyone.

Blower Motor Control Processor Replacement

BLOWER MOTOR CONTROL PROCESSOR REPLACEMENT

REMOVAL PROCEDURE




1. If equipped, remove the sound insulator panel.
2. Disconnect the electrical connector at the blower motor.




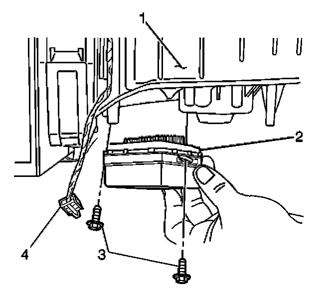
3. Disconnect the electrical connector (4) from the blower motor control processor (2).
4. Remove the blower motor control processor retaining screws (3) from the HVAC module (1).
5. Remove the blower motor control processor (2) from the HVAC module (1).

INSTALLATION PROCEDURE




1. Install the blower motor control processor (2) to the HVAC module (1).

NOTE: Refer to Fastener Notice in Service Precautions.

2. Install the blower motor control processor retaining screws.

Tighten
Tighten the screws to 1.6 N.m (14 lb in).

3. Connect the electrical connector (4) to the blower motor control processor (2).




4. Connect the electrical connector at the blower motor.
5. If equipped, install the sound insulator panel.