Curiosii for ever!: Car repair manuals for everyone.

Body Control Module: Service and Repair

BODY CONTROL MODULE REPLACEMENT

REMOVAL PROCEDURE

1. Open the convertible top.

IMPORTANT:
- The ignition switch should be in the OFF position when connecting or disconnecting the connectors to the body control module (BCM).
- Always disconnect the gray connector FIRST, the white connector SECOND, the black connector THIRD, the blue connector FORTH, and the brown electrical connector LAST.
- Always connect the brown electrical connector FIRST, the blue connector SECOND, the black connector THIRD, the white connector FORTH, and the gray connector LAST.
- Do not open the BCM housing. The module does not have any serviceable components. The module may be replaced only as an assembly.

2. Disconnect the negative battery cable.

CAUTION: Refer to Battery Disconnect Caution in Service Precautions.

3. Remove the rear upper garnish molding.
4. Loosen and move the floor console forward to reveal the BCM electrical connectors.




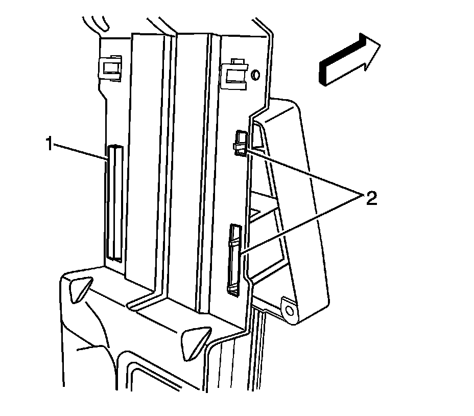
5. Release the tabs (2) retaining the BCM mounting bracket to the console bracket.
6. Release the tab (1) retaining the BCM mounting bracket to the console bracket.




7. Remove the BCM and bracket assembly from the console bracket (1).




8. Disconnect the gray connector (2) from the BCM.
9. Disconnect the white connector (1) from the BCM.
10. Disconnect the black connector (5) from the BCM.
11. Disconnect the blue connector (4) from the BCM.
12. Disconnect the brown connector (3) from the BCM.




13. Remove the BCM from the vehicle.
14. If replacing the BCM, release the retaining tabs (1) and remove the mounting bracket from the BCM.

INSTALLATION PROCEDURE




1. If replacing the BCM, install the mounting bracket on the BCM. Ensure the retaining tabs (1) are fully seated.




2. Connect the brown connector (3) to the BCM.
3. Connect the blue connector (4) to the BCM.
4. Connect the black connector (5) to the BCM.
5. Connect the white connector (1) to the BCM.
6. Connect the gray connector (2) to the BCM.




7. Position the BCM and bracket assembly to the console bracket (1).




8. Install the tab (1) retaining the BCM mounting bracket to the console bracket.
9. Install the tabs (2) retaining the BCM mounting bracket to the console bracket.
10. Install the floor console.
11. Install the rear upper garnish molding.
12. Connect the negative battery cable.
13. If installing a replacement BCM, program the BCM. Programming and Relearning
14. Close the convertible top.