Curiosii for ever!: Car repair manuals for everyone.

Cruise Control Servo Cable: Service and Repair

CRUISE CONTROL CABLE REPLACEMENT

REMOVAL PROCEDURE




1. Open the hood
2. Remove the air cleaner assembly.




3. Remove the cruise control cable end from the throttle linkage.
Use a suitable tool to lightly pry off the end of the cruise control cable end from the throttle linkage.




4. Disconnect the cruise control cable from the cable bracket by squeezing the retaining tabs on the cable.
5. Disconnect the cruise cable from the retaining clip on the fan shroud.
6. Squeeze the retaining tabs on the cruise control cable fitting to expose the cable bead and the buckle of the ribbon.

IMPORTANT: Do not allow the cruise control ribbon to retract into the module assembly.




7. Disconnect the cruise control cable from the cruise control module.
8. Disconnect the cruise control cable bead from the buckle on the end of the ribbon.
9. Remove the cruise control cable from the vehicle.

INSTALLATION PROCEDURE




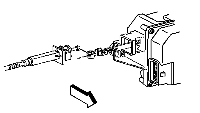
1. Route the cruise control cable (4) from the cruise control module (3) to the throttle body.

IMPORTANT: Do not twist the cruise control module ribbon.




2. Remove all bends and twists from the cruise control module ribbon and cable, by rotating the ribbon.
3. Pull the cruise control cable from the throttle linkage end until the cable is taut.
4. Install the cable bead to the buckle on the end of the ribbon on the cruise control module.




5. Check the orientation of the cruise control ribbon buckle to the cable end fitting.
6. Snap the cruise control cable fitting into the cruise control module.

IMPORTANT: Verify that the cable fitting locking tabs are expanded, and that the tabs are locked in the bracket hole.




7. Install the cruise control cable fitting into the hole in the cable bracket.




8. Connect the cruise control cable end (2) to the throttle linkage (1).
9. Adjust the cruise control cable. Refer to Cruise Control Cable Adjustment.
10. Install the air cleaner assembly.