Curiosii for ever!: Car repair manuals for everyone.

Control Module HVAC: Service and Repair

HVAC CONTROL PROCESSOR REPLACEMENT - AUXILIARY

REMOVAL PROCEDURE




1. Lower the front headliner to access the HVAC control processor. Refer to Headliner Replacement - Front in Interior Trim.
2. Remove the HVAC control processor from the roof panel.
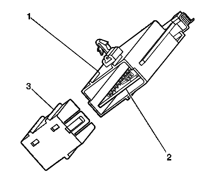
3. Remove the HVAC control processor access cover (3).




4. Remove the HVAC control processor (2) from the HVAC processor case (1).

INSTALLATION PROCEDURE




1. Install the HVAC control processor (2) to the HVAC processor case (1).




2. Install the HVAC control processor access cover (3).
3. Install the HVAC control processor to the roof panel.
4. Install the front headliner.