Curiosii for ever!
: Car repair manuals for everyone.
Home
>>
Chevy Truck
>>
2004
>>
Express 1500 AWD V8-5.3L VIN T
>>
Repair and Diagnosis
>>
Diagrams
>>
Connector Views
>>
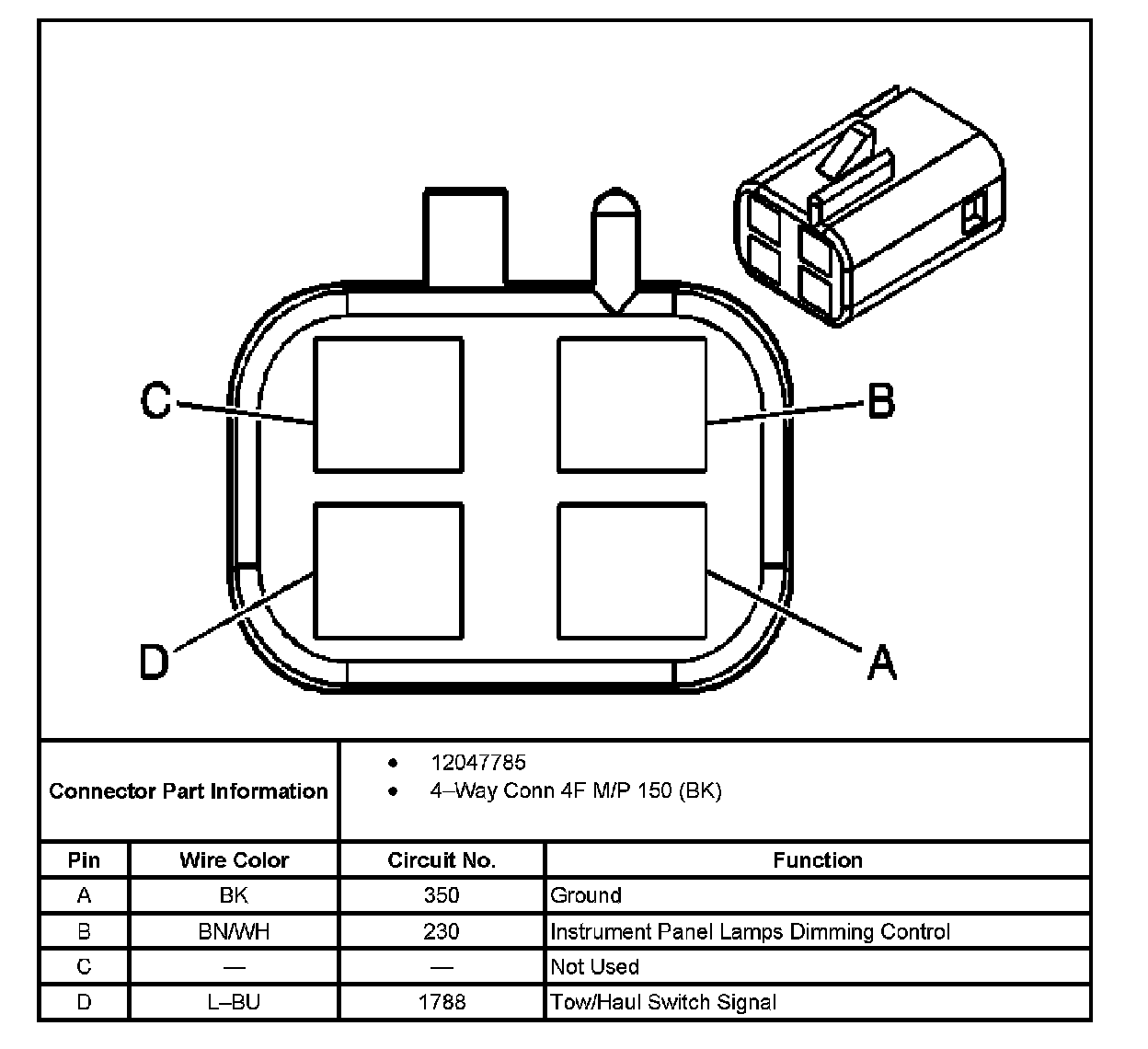
Transmission Mode Switch, A/T
Transmission Mode Switch, A/T
Tow/Haul Switch Connector: