Curiosii for ever!: Car repair manuals for everyone.

Bracket Assembly Replacement - Onstar Module

BRACKET ASSEMBLY REPLACEMENT - ONSTAR MODULE

REMOVAL PROCEDURE

IMPORTANT: Do not exchange the vehicle communication interface module with other vehicles. Each vehicle communication interface module has a specific station identification (STID) and electronic serial number (ESN). These identification numbers are stored in the General Motors vehicle history files by VIN and used by OnStar(R) and the National Cellular Telephone Network.




1. Remove the drivers knee bolster.
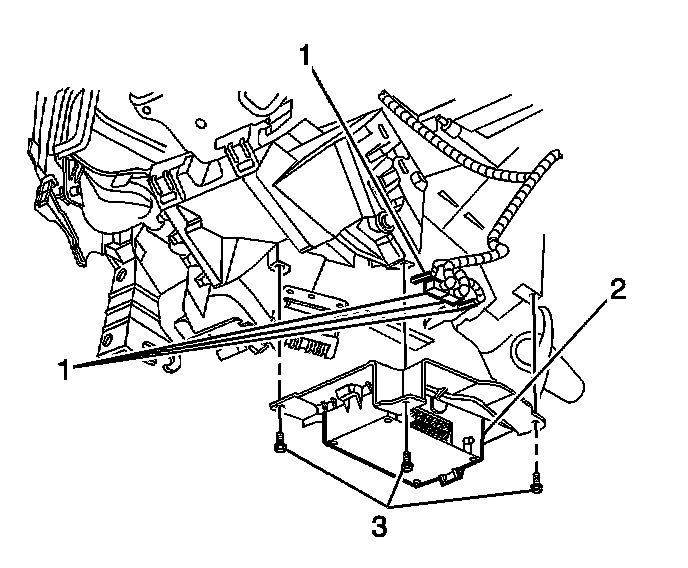
2. Disconnect the coaxial cable and the electrical connectors (2) from the module.
3. Remove the bolts (3) retaining the module bracket to the instrument panel (I/P).
4. Remove the module and bracket (2) from the vehicle.




5. Release the tab (2) on the mounting bracket and pull that end of the module (3) away from the bracket.
6. Slide the module (3) out of the mounting bracket (1).

INSTALLATION PROCEDURE




1. Slide the module (3) into the mounting bracket (1).
2. Push the module (3) towards the mounting bracket (1) at the end near the tab (2).
Push until the module (3) is seated in the mounting bracket (1).




3. Install the module and bracket (2) to the I/P.

NOTE: Refer to Fastener Notice in Service Precautions.

4. Install the bolts (3).

Tighten
Tighten the bolts (3) to 3 N.m (27 lb in).

5. Connect the coaxial cable and the electrical connectors (2) to the module.
6. Install the drivers knee bolster.