Curiosii for ever!: Car repair manuals for everyone.

Battery Box Replacement

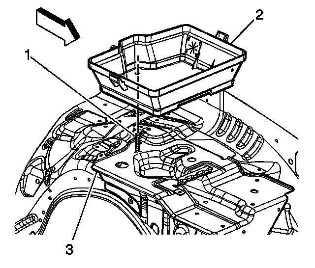
BATTERY BOX REPLACEMENT

REMOVAL PROCEDURE
1. Remove the battery.




2. Disconnect the following from the lower battery box (2):
- The battery cables harness retainer (3)
- The engine wiring harness retainer




3. Lift the lower battery box (2) upward from the battery tray (3).

INSTALLATION PROCEDURE




1. Install the lower battery box (2) to the retainer stud (1) and battery tray (3).




2. Connect the following to the lower battery box (2):
- The battery cables harness retainer (3)
- The engine wiring harness retainer
3. Install the battery.