Curiosii for ever!: Car repair manuals for everyone.

Fuse Block: Service and Repair

UNDERHOOD ELECTRICAL CENTER OR JUNCTION BLOCK REPLACEMENT

REMOVAL PROCEDURE




1. Disconnect the negative battery cable.
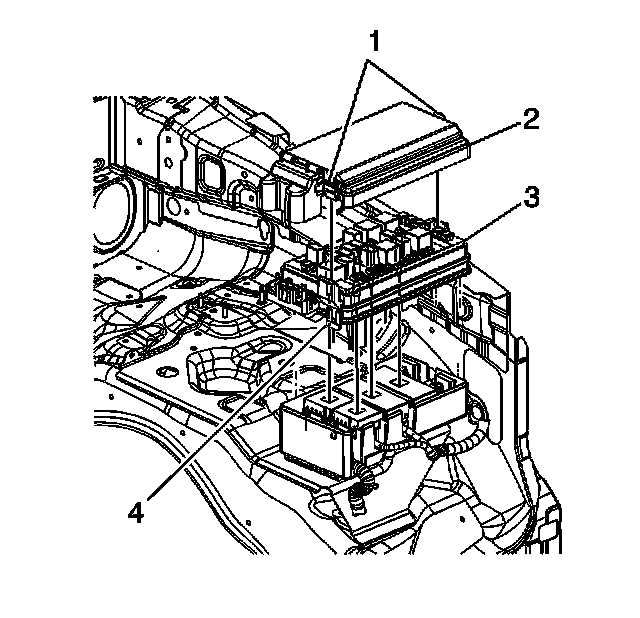
2. Press tabs (1) inward and lift to remove the junction block cover.
3. Remove the fuse relay center bolts (3) and remove the fuse relay center from the junction block bracket.
4. Pull downward on the wiring harness ends to remove from the bottom of the fuse relay center.

INSTALLATION PROCEDURE




1. Align the wiring harnesses and install the fuse relay center (3).

NOTE: Refer to Fastener Notice in Service Precautions.

2. Install the fuse relay center bolts.

Tighten
Tighten the relay center bolts to 6 N.m (53 lb in).

3. Install the junction block cover (2). Press downward to engage the tabs.