Curiosii for ever!: Car repair manuals for everyone.

Fuel Tank Pressure Sensor: Service and Repair

FUEL TANK PRESSURE SENSOR REPLACEMENT

REMOVAL PROCEDURE
1. Raise and support the vehicle, high enough to access the top of the fuel tank through the wheelhouse liner. Refer to Vehicle Lifting.
2. Remove the left pickup box wheelhouse liner.




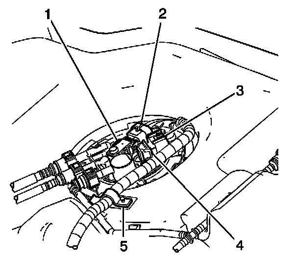
3. Disconnect the electrical connector (2) from the fuel tank pressure (FTP) sensor (1).




4. Pull upward in order to remove the FTP sensor from the fuel tank module.

INSTALLATION PROCEDURE




1. Lightly lubricate the FTP sensor seal with clean engine oil.
2. Press the FTP sensor fully into the fuel tank module.




3. Connect the electrical connector (2) to the FTP sensor (1).
4. Install the left pickup box wheelhouse liner.
5. Lower the vehicle.