Curiosii for ever!: Car repair manuals for everyone.

Fuel Level Sensor: Service and Repair

FUEL LEVEL SENSOR REPLACEMENT

REMOVAL PROCEDURE
1. Remove the fuel tank module.




2. Disconnect the fuel level sensor electrical connector from the module.




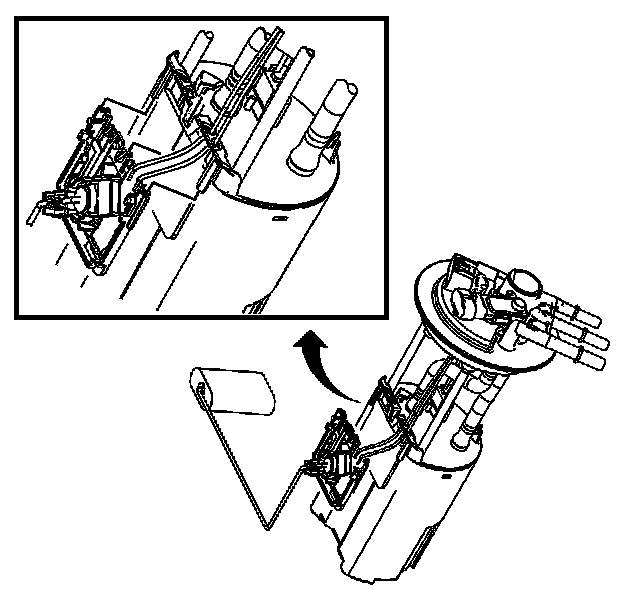
3. Complete the following in order to remove the fuel level sensor from the module assembly:
3.1. Disengage the locking tab from the sensor.
3.2. Slide the sensor downward from the module.

INSTALLATION PROCEDURE




1. Complete the following in order to install the fuel level sensor to the module assembly:
1.1. Align the edges of the sensor with the slots in the module.
1.2. Slide the sensor into position, ensure the locking tab is fully engaged.




2. Connect the fuel level sensor electrical connector to the module.
3. Install the fuel tank module.