Curiosii for ever!: Car repair manuals for everyone.

Front Wheel Alignment

Front Caster and Camber Adjustment

^ Tools Required
- J 45938,Alignment Socket





1. The caster and camber adjustments are made by rotating the offset cam bolt and the cam in the slotted frame bracket in order to reposition the control arm.

Important: Before adjusting the caster and camber angles, jounce the front bumper three times to allow the vehicle to return to normal height. Measure and adjust the caster and the camber with the vehicle at curb height. The front suspension Z dimension is indicated in Trim Heights. Refer to Trim Height Specifications.

2. For an accurate reading, do not push or pull on the tires during the alignment process.
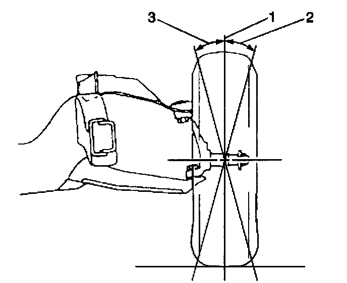
3. Determine the caster angle (2). Be sure to compensate for frame angle where required.





4. Determine the positive camber (2) or negative camber (3) angle.





5. The 4WD and 2WD Z71 vehicles are adjusted at the Upper control arm.





6. The 2WD vehicles are adjusted at the lower control arm.
7. Remove the pinned adjusting cam insert. Do not reinstall the cam insert.
8. Loosen the control arm cam adjustment bolts.

Notice: Refer to Fastener Notice in Service Precautions.

9. Using the J 45938 adjust the caster and the camber angle by turning the cam bolts until the specifications have been met.

When the adjustments are complete, hold the cam bolt in order to ensure the cam bolt position does not change while tightening the nut.
^ Tighten the 2WD cam nuts to 155 Nm (114 ft. lbs.).
^ Tighten the 4WD cam nuts to 155 Nm (114 ft. lbs.).
10. Verify that the caster and the camber are still within specifications. Refer to Wheel Alignment Specifications.

When the caster and camber are within specifications, adjust the toe. Refer to Front Toe Adjustment.

Front Toe Adjustment





1. Loosen the jam nut on the tie rod.
2. Rotate the inner tie rod to the required toe specification setting. Refer to Wheel Alignment Specifications.

Notice: Refer to Fastener Notice in Service Precautions.

3. Tighten the jam nut on the tie rod.
^ Tighten the tie rod jam to 70 Nm (52 ft. lbs.).
4. Check the toe setting after tightening.
5. Re-adjust the toe setting if necessary.