Curiosii for ever!
: Car repair manuals for everyone.
Home
>>
Chevy Truck
>>
2004
>>
Avalanche 1500 4WD V8-5.3L VIN T
>>
Repair and Diagnosis
>>
Specifications
>>
Electrical Specifications
>>
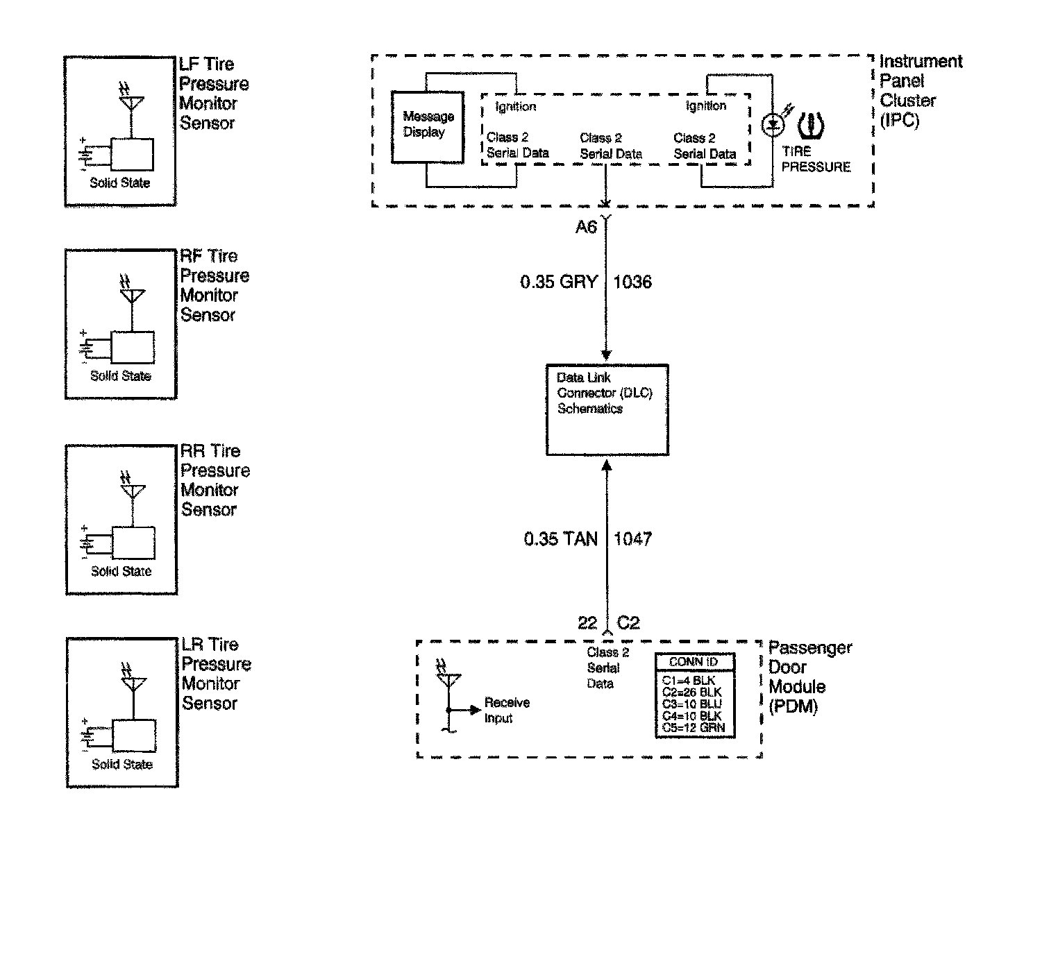
Tire Monitoring System
Tire Monitoring System