Curiosii for ever!: Car repair manuals for everyone.

Ignition Cable: Service and Repair

SPARK PLUG WIRE REPLACEMENT

REMOVAL PROCEDURE




1. Remove the spark plug wire from the spark plug.
1. Twist the spark plug wire boot a 1/2 turn.
2. Pull only on the boot in order to remove the wire from the spark plug.
2. Remove the spark plug wire from the ignition coil.
1. Twist the spark plug wire boot a 1/2 turn.
2. Pull only on the boot in order to remove the wire from the ignition coil.




3. There are 2 different manufacturers for the spark plug wire, ignition coils and coil brackets. They are as follows:

IMPORTANT: The Melco(r) spark plug wires MUST be used only with the Melco(r) coils and bracket, like wise the Delphi(r) spark plug wires MUST be used only with Delphi(r) coils and bracket. The components are NOT interchangeable.

4. The Melco(r) spark plug wire (1) will have a blue foil mark on it, and the wire is 145 mm (5.70 in) in length from cable seal to cable seal.
5. The Delphi(r) spark plug wire (2) will have a white foil mark on it, and the wire is 110 mm (4.30 in) in length cable seal to cable seal.




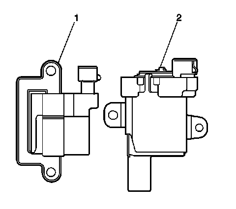
6. The Melco(r) (1) ignition coil is a square design.
7. The Delphi(r) (2) ignition coil is a round design.




8. The Melco(r) ignition coil bracket (1) is a square design.
9. The Delphi(r) ignition coil bracket (2) is a round design.

INSTALLATION PROCEDURE




1. Install the spark plug wire to the ignition coil.
2. Install the spark plug wire to the spark plug.
3. Inspect the spark plug wire for proper installation:
1. Push sideways on each boot in order to inspect the seating.
2. Reinstall any loose boot.