Curiosii for ever!: Car repair manuals for everyone.

Keyless Entry Receiver: Service and Repair

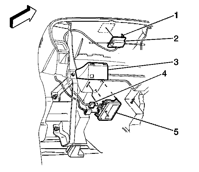
REMOTE CONTROL DOOR LOCK RECEIVER REPLACEMENT

REMOVAL PROCEDURE
1. Remove the left knee bolster.




2. Disconnect the remote keyless entry antenna (2) from the receiver (5).
3. Disconnect the remote keyless entry electrical connector (4) from the receiver (5).
4. Remove the remote keyless entry module screws from the bracket (3).
5. Remove the remote keyless entry module from the carrier.

INSTALLATION PROCEDURE
1. Install the remote keyless entry module to the carrier.

NOTE: Refer to Fastener Notice in Service Precautions.

2. Install the remote keyless entry module screws to the bracket (3).

Tighten
Tighten the remote keyless entry module screws to the bracket (3) to 2 Nm (18 lb in).




3. Connect the remote keyless entry antenna (2) to the receiver (5).
4. Connect the remote keyless entry electrical connector (4) to the receiver (5).
5. Install the left knee bolster.
6. Reprogram the transmitter. Programming and Relearning
7. Verify that the system operates properly.