Curiosii for ever!: Car repair manuals for everyone.

Air Bag Control Module: Service and Repair

INFLATABLE RESTRAINT SENSING AND DIAGNOSTIC MODULE REPLACEMENT

CAUTION:
- Do not strike or jolt the inflatable restraint sensing and diagnostic module (SDM). Before applying power to the SDM, make sure that it is securely fastened with the arrow facing toward the front of the vehicle. Failure to observe the correct installation procedure could cause SIR deployment, personal injury, or unnecessary SIR system repairs.
- If the vehicle interior is exposed to moisture and becomes soaked up to the level of the sensing and diagnostic module (SDM), the SDM and SDM harness connector must be replaced. The SDM could be activated when powered, which could cause airbag deployment and result in personal injury.


Removal Procedure
1. Disable the SIR system. Refer to SIR Disabling and Enabling Zone 7 or SIR Disabling and Enabling Zone 9.
2. Remove the passenger front seat.
3. Remove the passenger front carpet retainer, then roll back the carpet.




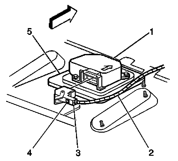
4. Push the locking tab and release the connector position assurance (CPA) from the inflatable restraint sensing and diagnostic module (SDM) wiring harness connector (2).




5. Disconnect the SDM wiring harness connector (3) from the SDM (1).




6. Remove the SDM mounting fasteners (1).
7. Remove the SDM (2) from the vehicle.

Installation Procedure




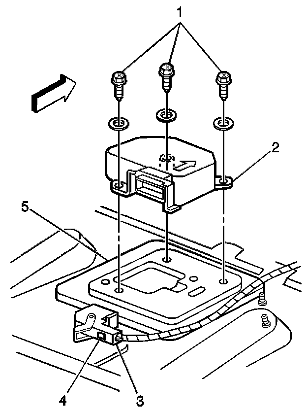
1. Install the SDM (2) to the vehicle.

NOTE: Refer to Fastener Notice in Service Precautions.

2. Install the SDM mounting fasteners (1).

Tighten
Tighten fasteners to 10 N.m (89 lb in).

First Repair
2.1. Remove and discard the fastener.

IMPORTANT: The following repair procedures should only be used in the event that the inflatable restraint sensing and diagnostic module (SDM) mounting studs and/or fasteners are damaged to the extent that the SDM can no longer be properly mounted.

2.2. Use a new fastener GM P/N 10156138.

NOTE: Refer to Fastener Notice in Service Precautions.

2.3. Install the SDM mounting fasteners (1).

Tighten
Tighten fasteners to 10 N.m (89 lb in).

Second Repair
2.1. Remove and discard the fastener.
2.2. Use a larger fastener GM P/N 10267482 with washer GM P/N 11500305.
2.3. Install the SDM mounting fasteners (1).

Tighten
Tighten fasteners to 15 N.m (134 lb in).




3. Install the SDM wiring harness connector (3) to the SDM (1).




4. Install the connector position assurance (CPA) to the SDM wiring harness connector (2).
5. Position the carpet to cover the SDM then install the carpet retainer.
6. Install the passenger front seat.
7. Enable the SIR system. Refer to SIR Disabling and Enabling Zone 7 or SIR Disabling and Enabling Zone 9.