Curiosii for ever!: Car repair manuals for everyone.

Ride/Trim Height Inspection Procedure

TRIM HEIGHT MEASUREMENTS
Trim height is a predetermined measurement relating to vehicle ride height. Incorrect trim heights can cause bottoming out over bumps, damage to suspension components, and symptoms similar to wheel alignment problems. Check the trim heights when diagnosing suspension concerns and before checking the wheel alignment.
Perform the following prior to measuring trim heights:
^ Make sure the vehicle is on a level surface, such as an alignment rack.
^ Set the tire pressures to specifications.
^ Check the fuel level. Add additional weight if necessary to simulate a full tank.
^ To ensure proper weight distribution make sure the rear storage compartment is empty.
^ Close the doors and hood.

Z Height Measurement - Front
The Z height measurement determines the proper ride height for the front end of the vehicle. Vehicles equipped with torsion bars use an adjusting arm to adjust the Z height. Vehicles without torsion bars have no adjustment and may require replacement of suspension components.

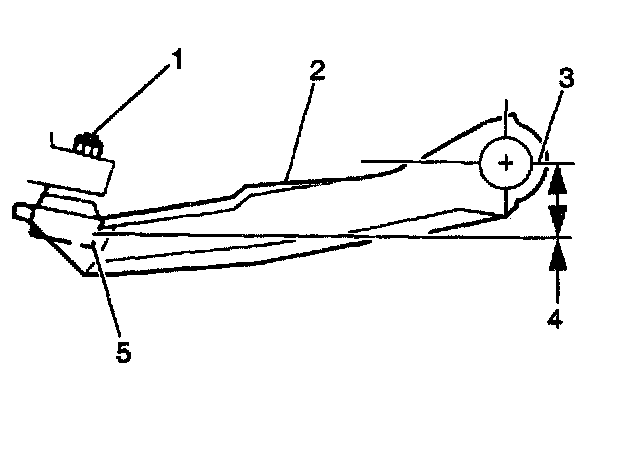
Important: All dimensions are measured vertical to the ground.

1. Place hands on the front bumper and jounce the front of the vehicle. Make sure that there is at least 38 mm (1.5 inch) of movement while jouncing.
2. Allow the vehicle to settle into position.





3. Measure from the pivot bolt center line (3) down to the lower corner (5) of the lower ball joint (1) in order to obtain the Z height measurement (4).
4. Repeat the jouncing operation and measurement 2 more times for a total of 3 times.
5. Use the highest and lowest measurements to calculate the average height.
6. The true Z height dimension number is the average of the high and the low measurements.

Cross vehicle Z heights should be within 24 mm (0.9 inch).

7. If these measurements are out of specifications, inspect for the following conditions:
^ Sagging front suspension.
^ Collision damage.


D Height Measurement - Rear
The D height measurement determines the proper ride height for the rear end of the vehicle. There is no adjustment procedure. Repair may require replacement of suspension components.

Important: All dimensions are measured vertical to the ground.

1. Place hands on the rear bumper and jounce the rear of the vehicle. Make sure that there is at least 38 mm (1.5 inch) of movement while jouncing.
2. Allow the vehicle to settle into position.





3. Measure the D height by measuring the distance between the jounce bumper bracket and the top of the rear axle tube.
4. Repeat the jouncing operation and measurement 2 more times for a total of 3 times.
5. Use the highest and lowest measurements to calculate the average height.
6. The true D height dimension is the average of the highest and lowest measurements.

Cross vehicle D heights should be within 12 mm (0.5 inch) for vehicles equipped with coil springs, vehicles equipped with air suspension should be within 8 mm (0.3 inch).

7. If these measurements are out of specifications, inspect for the following conditions:
^ Sagging rear suspension.
^ Collision damage.