Curiosii for ever!
: Car repair manuals for everyone.
Home
>>
Chevy Truck
>>
2003
>>
TrailBlazer 2WD V8-5.3L VIN P
>>
Repair and Diagnosis
>>
Specifications
>>
Mechanical Specifications
>>
Engine
>>
System Specifications
>>
Thread Repair Specifications
>>
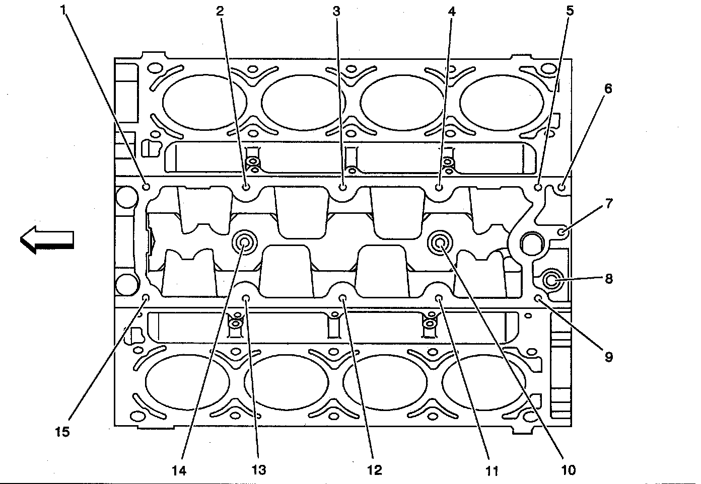
Engine Block - Top View
Engine Block - Top View
Engine Block - Top View (Part 1 Of 2):
Engine Block - Top View (Part 1 Of 2):