Curiosii for ever!: Car repair manuals for everyone.

Fuel System

The fuel system is comprised of two subsystems. The fuel supply system and the fuel metering system. The correct amount of fuel can not be delivered to the engine cylinders without the supply of air from the air intake system. The powertrain control module (PCM), along with the information sensors and switches, controls the activity between all three systems.

The following are the main components of the vehicle's fuel supply system:
- The fuel rail assembly
- The fuel pressure regulator
- The fuel pump
- The fuel tank
- The fuel filter
- The fuel feed pipes and hoses
- The fuel return pipes and hoses

This vehicle is equipped with a sequential fuel injection (SFI) system. The function of the fuel metering system is deliver the correct amount of fuel to the engine under all operating conditions. The main component of the vehicle's fuel metering system is the fuel injectors. There is one fuel injector for each cylinder. The fuel injectors are controlled sequentially by the PCM. The PCM bases the control of the fuel injectors on several important engine parameters.

These engine parameters include the following:
- The mass air flow (MAF) sensor
- The intake air temperature (IAT) sensor
- The engine coolant temperature (ECT) sensor
- The throttle position (TP) sensor
- The engine speed (RPM)
- The heated oxygen sensor (HO2S)




The air intake system provides measured clean air to each cylinder for proper mixture with the pressurized fuel. The following are the main components of the vehicle's air intake system:
- The throttle body assembly
- The air cleaner (ACL) assembly
- The air filter element
- The air inlet supply ducts
- The intake manifold and plenum

The engine is designed to use only unleaded fuel. Unleaded fuel must be used for proper emission control system operation. Using unleaded fuel will also decrease spark plug fouling and extend engine oil life. Leaded fuel can damage the emission control system. The use of leaded fuel can result in the loss of emission warranty coverage.

This vehicle's fuel system is equipped with an evaporative emission control system that minimizes the release of fuel vapors to the atmosphere. For more information on this system, refer to Evaporative Emission (EVAP) Control System Description.

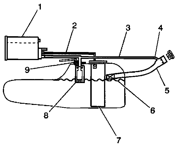
Fuel Supply System




The supply of fuel is stored in the fuel tank. An electric fuel pump pressurizes the fuel through to the fuel filter and out to the fuel lines and the fuel rail. The electric fuel pump is suspended from the top of the fuel tank as part of the fuel sender assembly. The fuel pump is designed to provide fuel at a pressure above the regulated pressure needed by the fuel injectors. The fuel pressure regulator keeps the fuel supplied to the fuel injectors at the regulated pressure.

Fuel Tank




The fuel tank has a storage capacity of 66 liters (17.4 gallons). The fuel tank is manufactured from steel and is located behind the rear wheels below the rear seat area. The shape of this tank was designed to allow for a constant supply of fuel around the fuel pump strainer during low fuel conditions and also during aggressive vehicle maneuvers. The fuel tank is equipped with a fuel cut-off valve. The fuel cut-off valve consists of a float and a spring. The fuel cut-off valve allows only fuel vapors to enter the fuel vapor pipe.

Fuel Tank Check Valve




The fuel filler pipe (1) of the fuel tank is equipped with an inlet check valve (2). This fuel tank check valve (2) prevents the fuel from spewing into the fuel filler neck during vehicle refueling. The fuel tank, pipes, and hoses should be checked for any road damage which may result in leakage.

Fuel Tank Filler Neck
To prevent refueling with leaded fuel, the fuel filler neck has a built-in restrictor and deflector. The opening of the restrictor only admits the smaller unleaded fuel nozzle. The nozzle must be fully inserted to bypass the deflector. Any attempt at refueling with leaded fuel will result in fuel splashing out of the filler neck.

Fuel Filler Cap

Fuel Filler Cap:




The fuel filler cap (1) is a pressure-vacuum type. A built-in torque limiting device on the cap prevents overtightening and also eliminates the escape of fuel vapors. To install, turn the cap clockwise until a clicking noise is heard. This indicates that the cap is fully seated.

NOTE: Use a fuel tank filler pipe cap with the same features as the original when a replacement is necessary. Failure to use the correct fuel tank filler pipe cap can result in a serious malfunction of the fuel system.

A vacuum relief valve is incorporated into the fuel filler cap. If the pressure in the fuel tank becomes negative (vacuum), the relief valve opens to relieve the pressure created within the fuel tank. Only when the vacuum becomes excessive within the tank does this occur. Vacuum pressure is also vented through the tank pressure control valve which is located on the top of the fuel tank.

A pressure relief valve is also located in the fuel filler cap. The pressure of the fuel vapor within the tank should exceed that for which the fuel system is designed, the pressure relief valve opens, and the excess pressure is vented to the atmosphere. Regular inspection of the fuel filler cap for a correct seal and any indications of physical damage is recommended.

Fuel Sender Assembly

Fuel Sender Assembly:




The fuel sender assembly is located in the fuel tank. The fuel sender assembly contains the electric fuel pump and the fuel level sensor, or fuel gauge sender. The fuel sender assembly is fastened to the fuel tank with 6 bolts and sealed with a gasket.

Fuel Level Sensor
The fuel level sensor is located in the fuel tank and is part of the fuel sender assembly. The fuel level sensor, or fuel gauge sending unit, consists of a float, a float arm, and a variable resistor. The fuel level is measured by the position of the float in the fuel tank. The fuel level sensor indicates the position of the float to a gauge in the instrument panel (IP) and the powertrain control module (PCM). When the fuel level changes, the float position changes. The change in the float position increases or decreases the resistance reading of the variable resistor. The change in the resistance causes a change in the indicated fuel level. The powertrain control module monitors the fuel level sensor and uses the signals from the sensor in order to determine when to perform certain evaporative emission (EVAP) control system diagnostic procedures.

Fuel Pump

Fuel Pump:




The fuel pump is an electric pump that is controlled by the powertrain control module through the fuel pump relay. When the PCM commands the fuel pump to operate, an impeller is driven by an electric motor in the pump assembly. The pump impeller causes the fuel in the tank to be drawn into the fuel pump inlet port. The fuel is then pumped out under pressure through the fuel feed pipe and hoses to the fuel rail and the fuel injectors. The fuel pressure is maintained when the fuel pump is not running by a pressure control valve located within the pump. Excess fuel is returned to the fuel tank by the fuel return pipe and hoses. The fuel pump is located in the fuel tank and is a part of the fuel sender assembly. The fuel sender assembly has to be removed from the fuel tank in order to inspect or replace the fuel pump.

Fuel Pump Strainer
The fuel pump strainer attaches to the lower end of the fuel pump at the inlet port. The fuel pump strainer is made of woven plastic. The function of the fuel pump strainer is to filter contaminants and to wick fuel. The fuel pump strainer is self-cleaning and normally requires no maintenance. Fuel stoppage at this point indicates that the fuel tank contains an abnormal amount of sediment or water. Clean the fuel tank and replace the plugged fuel pump strainer.

Fuel Filter

Fuel Filter:




A steel in-line fuel filter (1) is used in the fuel feed pipe ahead of the fuel injectors. The filter housing is constructed to withstand the maximum fuel system pressure, exposure to fuel additives and changes in temperature. The filter element is made of paper and is designed to trap the particles in the fuel that may damage the fuel injection system. The fuel filter is located at the right front side of the fuel tank.

Fuel Pressure Regulator

Fuel Pressure Regulator:




The fuel pressure regulator is a diaphragm-operated pressure relief valve consisting of a diaphragm (3), a spring (2), and a valve (4). The fuel pressure regulator keeps the fuel pressure applied to the fuel injector at a pressure much more than the pressure in the intake manifold. The pressure applied to chamber A (2) of the fuel pressure regulator is the intake manifold pressure. The pressure applied to chamber B (5) of the fuel pressure regulator is fuel pressure. When the fuel pressure rises at least 210 kPa (30 psi) higher than the intake manifold pressure, the fuel pushes a valve in the regulator open and excess fuel (6) returns to the fuel tank via the fuel return pipe.

Fuel Feed and Return Pipes and Hoses
The fuel feed, return pipes and hoses carry the fuel from the fuel tank to the fuel injectors and back to the fuel tank. These pipes and hoses are attached to the chassis of the vehicle, and should be inspected periodically for kinks or dents that may restrict the fuel flow.

Fuel Vapor Pipe and Hoses
The fuel vapor pipe and hoses carry the fuel vapors from the fuel tank to the evaporative emission canister. The fuel vapors are stored in the canister when the engine is not running. When the engine is running at the normal operating temperature and the accelerator pedal is depressed, the powertrain control module (PCM) will command the evaporative emission canister purge valve to open and allow the stored fuel vapors to be purged into the intake manifold where they will be burned in the combustion process.

On-Board Refueling Vapor Recovery System (ORVR)

On-Board Refueling Vapor Recovery (ORVR) System:




The on-board refueling vapor recovery (ORVR) system is an on-board vehicle system designed to recover fuel vapors during the vehicle refueling operation. Instead of allowing fuel vapors to escape to the atmosphere the ORVR system transports the vapor to the EVAP canister for use by the engine. The flow of liquid fuel down the fuel filler neck provides a liquid seal that prevents fuel vapor from leaving the fuel system. The ORVR system architecture varies from platform to platform. Some of the items listed below are optional depending on the platform application. The following is a list of all the ORVR system components with a brief description of their operation:
- The EVAP canister (1) receives and stores refueling vapor from the fuel system. The EVAP canister releases the fuel vapor to the engine through the EVAP control system.
- The vapor lines (2) transport fuel vapor from the fuel tank assembly to the EVAP canister.
- The vapor recirculation line (3), if equipped, transports fuel vapor from the fuel tank to the top of the fuel filler pipe during refueling in order to reduce the fuel vapor at the canister. The vapor recirculation line can be located inside the fuel filler pipe or outside of the fuel filler pipe.
- The variable orifice valve (4), if equipped, regulates the amount of vapor allowed to enter the vapor recirculation line.
- The fuel filler pipe (5) carries fuel from the fuel dispensing nozzle to the fuel tank.
- The check valve (6) limits fuel spitback from the fuel tank during the refueling operation by allowing fuel flow only into the fuel tank. The check valve is located at the bottom of the fuel filler pipe or in the fuel tank filler neck.
- The fuel sender assembly (7) pumps fuel to the engine from the fuel tank.
- The fill limiter vent valve (8) is located in the fuel tank and acts as a shut-off valve. The fill limiter vent valve performs the following functions:
- Controls the fuel tank fill level by closing the primary vent of the fuel tank.
- Prevents liquid fuel from exiting the fuel tank through the vapor line and entering the EVAP canister.
- Provides fuel-spillage protection in the event of a vehicle rollover by closing the vapor path from the tank to the EVAP canister.
- The pressure/vacuum relief valve (9), if equipped, provides venting of excessive fuel tank pressure or vacuum. The pressure/vacuum relief valve is located in the fuel filler neck on a plastic fuel tank and in the fill limiter vent valve on a steel fuel tank.

Accelerator Controls
The accelerator control system is cable-operated. When the accelerator pedal is depressed, the cable pulls the throttle lever open, increasing the throttle plate opening. When the accelerator pedal is released, the throttle lever spring pressure returns the throttle lever to the idle position, decreasing the throttle plate opening.

Fuel Metering System
The function of the fuel metering system is deliver the correct amount of fuel to the engine under all operating conditions. Fuel is delivered to each cylinder by the fuel injectors. The fuel injectors are controlled sequentially by the powertrain control module (PCM). The PCM bases the control of the fuel injectors on several important engine parameters. These engine parameters include the following:

The two most important inputs for fuel control are the mass air flow (MAF) sensor and the fuel control heated oxygen sensors (HO2S). The MAF sensor provides the powertrain control module (PCM) with engine air intake quantity, while the fuel control HO2S provides the PCM with exhaust stream oxygen content information. Determining air density is critical to proper air/fuel management. Air density is primarily derived from the MAF sensor input. The MAF sensor measures the air volume and determines the air density. Larger volumes of air and denser air masses require additional fuel. The information from the MAF sensor is used by the PCM in order to modify the fuel injector pulse width.

The PCM modifies the air/fuel mixture by changing the injector pulse width signal sent to the injectors. By constantly measuring the air intake and the exhaust oxygen content and adjusting the injector pulse width, the air fuel ratio is kept very close to the optimal 14.7:1. This is the range at which the three-way catalytic converter (TWC) operates most effectively and at which the emissions of this vehicle are kept to a minimum. The constant tailoring of the air/fuel ratio is based upon feedback from the HO2S and is referred to as closed loop operation.

Fuel Injectors

Fuel Injectors:




The fuel injector is an electromagnetic (solenoid) type injection nozzle that injects fuel into the intake port of the cylinder head. There are six fuel injectors, one for each cylinder, located between the intake manifold and the fuel rail.

The powertrain control module energizes the solenoid coil (2) of the fuel injector, generating an electromagnet field that attracts the solenoid plunger (3). The ball valve (4), which is incorporated with the solenoid plunger, is opened by the movement of the solenoid plunger. The opening of the ball valve allows fuel that is under pressure to disperse in a cone shaped (conic) pattern. Because the stroke of the ball valve in the fuel injector is set constant, the amount of fuel injected at one time is determined by the length of time the solenoid coil is energized, or pulse width injection time.

Fuel Injection Operation
The powertrain control module (PCM) controls the amount of fuel the fuel injector supplies to each cylinder by controlling the ON time, length of pulse, of each individual injector. The delivery timing of the fuel into the cylinder head intake port by the fuel injector is controlled by the PCM. The timing and pulse of the fuel injectors is carefully calculated with inputs from the various sensors, so that a suitable air/fuel mixture is supplied to the engine for every driving condition.

There are two types of injection timing. One is synchronous injection, when fuel injection is synchronous with the ignition signal, or the signal from the camshaft position (CMP) sensor. The other is asynchronous injection, when fuel injection takes place independently of the ignition signal, or the signal from the CMP sensor.

The PCM first calculates the correct timing of the fuel injectors by factoring the engine speed and the air volume together. Then the PCM applies certain compensations that are based on the information provided by various sensors that detect the state of the engine and the current driving conditions.

Synchronous Injection
When starting the engine, the fuel injectors inject the fuel simultaneously and synchronously at every CMP sensor signal. When the engine is starting at a cold state, the amount of fuel is determined by the engine coolant temperature (ECT) sensor and is divided and injected. Once the engine is running, the fuel injection occurs in a cylinder only when it is in the exhaust stroke. The powertrain control module (PCM) detects the compression stroke of the number 1 cylinder through the CMP sensor signal.

Asynchronous Injection
Whenever a change in the throttle valve opening exceeds a specified value (as determined by the PCM), additional fuel is injected simultaneously into the cylinders which are in the intake and exhaust strokes. This is in addition to the above synchronous injection and is not based on the ignition signal.

Engine Starting Enrichment
In order to improve starting performance, fuel enrichment during start up is carried out. For a certain time after the engine is started, the air/fuel mixture is enriched slightly in order to stabilize the engine speed. The amount of compensation varies depending on the engine coolant temperature as measured by the ECT sensor.

Engine Warm-Up Enrichment
When the engine is cold, additional fuel is added in order to ensure good driveability. The level of enrichment of the air/fuel mixture is gradually decreased until the ECT sensor reaches a specified value.

Acceleration Enrichment
During acceleration, the pulse of the fuel injectors is lengthened in order to deliver more fuel. The additional fuel required is relative to the engine coolant temperature. Acceleration enrichment ensures smooth and reliable engine acceleration.

Power Enrichment
In order to provide maximum power during high engine load driving conditions, the air/fuel mixture is enriched when the throttle valve opening is more than a specified, PCM determined, value.

System Voltage Compensation
A power supply system voltage drop will delay the mechanical operation of the fuel injector. The actual injector ON time becomes shorter when the system voltage decreases. In order to compensate for this, the fuel injector pulse width signal is lengthened.

Base Air/Fuel Ratio Compensation
The base air/fuel ratio may vary due to differences in individual engines and mileage. In order to compensate for such variations, feedback information is used to adjust the base air/fuel mixture to maintain the optimum air/fuel ratio.

Fuel Cutoff
Fuel injection stops when decelerating, i.e., when the throttle valve is at idle position and the engine speed is high, so that unburned gas will not be exhausted. Fuel injection starts again when the above conditions are no longer present.

Fuel delivery also stops when the engine speed exceeds 6,800 RPM. This will prevent engine overrun which adversely affects the engine. Fuel delivery starts again when the engine speed decreases to less than 6,500 RPM.

Air/Fuel Ratio Feedback Compensation (Closed Loop Operation)
In order to obtain efficient performance of the three-way catalytic converter (TWC) and a high clarification rate of CO, HC and NOx in the exhaust gas stream, the air/fuel mixture must be kept as close to the theoretical air/fuel ratio (14.7:1) as possible. In order to accomplish this, the powertrain control module (PCM) first compares the input voltage from fuel control heated oxygen sensors (HO2S) with a specified reference voltage. If the fuel control HO2S input voltage is higher than the specified reference voltage, the PCM determines that the air/fuel ratio is richer than the theoretical air/fuel ratio and reduces the fuel (lean command). If the input voltage from the fuel control HO2S is lower than the specified reference voltage, the PCM determines that the air/fuel ratio is leaner and increases the fuel (rich command). By repeating these operations, the PCM can adjust the air/fuel ratio in order to be closer to the theoretical air/fuel ratio. Control of the fuel delivery system as just described is known as closed loop operation.

Closed Loop Fuel Control Operation




The closed loop fuel control operation will not take place under any of the following conditions:
- At engine start up.
- When the fuel injection is increased just after engine start up.
- When the engine coolant temperature (ECT) sensor is indicating a low coolant temperature.
- When the engine is operating under a high demand, such as wide open throttle (WOT).
- At fuel cutoff.
- When the HO2S 1 is cold, open loop operation.

Control of the air supply that is mixed with the metered fuel is detailed in the description of the air intake system. Refer to Air Intake System Description.