Curiosii for ever!: Car repair manuals for everyone.

Battery Tray Replacement

BATTERY TRAY REPLACEMENT

REMOVAL PROCEDURE
1. Raise the vehicle. Refer to Vehicle Lifting.




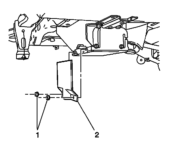
2. Remove the rear battery cover nuts (1) and cover (2).
3. Disconnect the negative and positive battery cables.




4. Loosen the lower battery box slide nuts (1).




5. Drop down the lower battery box to access battery.




6. Remove the battery hold-down bolt and hold-down.




7. Remove the battery from lower battery box.




8. Remove the lower battery box slide nuts (1) from studs.




9. Remove the lower battery box (1) from upper battery box.

INSTALLATION PROCEDURE




1. Install the lower battery box (1) to upper battery box.

IMPORTANT: Do not tighten slide nut when you install. They will be tighten after lower battery box is raise to the lock position.




2. Install the lower battery box slide nuts (1).




3. Install the battery to lower battery box.

NOTE: Refer to Fastener Notice in Service Precautions.




4. Install the battery hold-down and bolt.

Tighten
Tighten bolt to 25 N.m (18 lb ft).

5. Raise the lower battery box and lock into place.
6. Tighten the battery box slide nuts.

Tighten
Tighten nuts to 25 N.m (18 lb ft).

7. Connect the negative and positive battery cables.




8. Install the rear battery cover (2) and nuts (1).

Tighten
Tighten nuts to 10 N.m (89 lb in).

9. Lower the vehicle.