Curiosii for ever!
: Car repair manuals for everyone.
Home
>>
Chevy Truck
>>
2003
>>
Express 3/4 Ton Van V8-5.3L VIN T
>>
Repair and Diagnosis
>>
Specifications
>>
Mechanical Specifications
>>
Engine
>>
System Specifications
>>
Thread Repair Specifications
>>
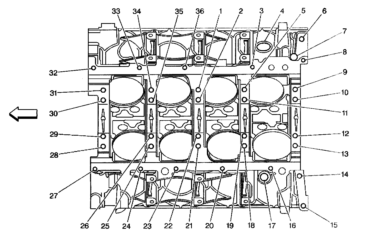
Engine Block-Bottom View
Engine Block-Bottom View
Part 1 Of 3:
Part 2 Of 3:
Part 3 Of 3: