Ride/Trim Height Inspection Procedure
TRIM HEIGHT INSPECTION PROCEDURETRIM HEIGHT MEASUREMENTS
Trim height is a predetermined measurement relating to vehicle ride height. Incorrect trim heights can cause bottoming out over bumps, damage to the suspension components and symptoms similar to wheel alignment problems. Check the trim heights when diagnosing suspension concerns and before checking the wheel alignment.
Perform the following before measuring the trim heights:
- Make sure the vehicle is on a level surface, such as an alignment rack.
- Remove the alignment rack floating pins.
- Set the tire pressures to the pressure shown on the certification label. Refer to Label - Vehicle Certification (W/O RPO Z49)Label - Vehicle Certification (W/RPO Z49).
- Check the fuel level. Add additional weight if necessary to simulate a full tank.
- To ensure proper weight distribution make sure the rear storage compartment is empty.
- Close the doors and hood.
Z HEIGHT MEASUREMENT
IMPORTANT: K models only the Z height must be adjusted before the alignment.
The Z height dimension measurement determines the proper ride height for the front end of the vehicle. Vehicles equipped with torsion bars use a adjusting arm in order to adjust the Z height dimension. Vehicles without torsion bars have no adjustment and could require replacement of suspension components.
1. Place hand on the front bumper and jounce the front of the vehicle. Make sure that there is at least 38 mm (1.5 in) of movement while jouncing.
IMPORTANT: All dimensions are measured vertical to ground. Cross vehicle Z heights should be within 12 mm (0.47 in) to be considered correct.
2. Allow the vehicle to settle into position.
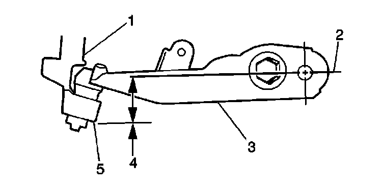
3. Measure from the pivot bolt center line (2) down to the lower corner (5) of the lower steering knuckle (1) in order to obtain the Z height measurement (4).
4. Repeat the jouncing operation 2 more times for a total of 3 times.
5. Use the highest and lowest measurements to calculate the average height.
6. The true Z height dimension number is the average of the highest and the lowest measurements. Refer to Trim Height Specifications.
Z HEIGHT ADJUSTMENT
1. For vehicles equipped with a torsion bar suspension turn the bolt (1) that contacts the torsion arm as needed. One revolution of the bolt (1) into the nut increases the Z height by approximately 6.0 mm (0.2 in).
2. For vehicles without torsion bars, replace damaged or worn components as necessary.
3. If these measurements are still out of specifications after adjustment or are not equipped with torsion bars, inspect for the following:
- Sagging front suspension. Refer to Torsion Bar Replacement in Front Suspension.
- Collision Damage
D HEIGHT MEASUREMENT
The D height dimension measurement determines the proper ride height for the rear end of the vehicle. There is no adjustment procedure. Repair may require replacement of suspension components.
1. Place hand on the rear bumper and jounce the rear of the vehicle. Make sure that there is at least 38 mm (1.5 in) of movement while jouncing.
IMPORTANT: All dimensions are measured vertical to ground. Cross vehicle D heights should be within 10 mm (0.39 in) to be considered correct.
2. With the vehicle on a flat surface, lift upward on the rear bumper 38 mm (1.5 in).
3. Allow the vehicle to settle into position.
4. Measure the D height by measuring the distance between the bumper bracket and the top of the rear axle tube.
IMPORTANT: Measure the metal to metal contact points of the rear axle to the frame on the inboard side of the leaf springs.
5. Repeat the jouncing operation 2 more times for a total of 3 times.
6. Use the highest and lowest measurements to calculate the average height.
7. The true D height dimension number is the average of the highest and the lowest measurements. Refer to Trim Height Specifications.
8. If these measurements are out of specifications, inspect for the following conditions:
- Sagging front suspension. Refer to Torsion Bar Replacement in Front Suspension.
- Sagging rear leaf/coil springs. Refer to Leaf Spring Replacement or Coil Spring Replacement in Rear Suspension.
- Worn rear suspension components, such as leaf spring bushings. Refer to Spring Bushing Replacement in Rear Suspension.
- Improper tire inflation. Refer to Tire Inflation Pressure Specifications in Maintenance and Lubrication.
- Improper weight distribution
- Collision damage