Curiosii for ever!
: Car repair manuals for everyone.
Home
>>
Chevy Truck
>>
2003
>>
Astro Van AWD V6-4.3L VIN X
>>
Repair and Diagnosis
>>
Starting and Charging
>>
Power and Ground Distribution
>>
Fuse Block
>>
Application and ID
>>
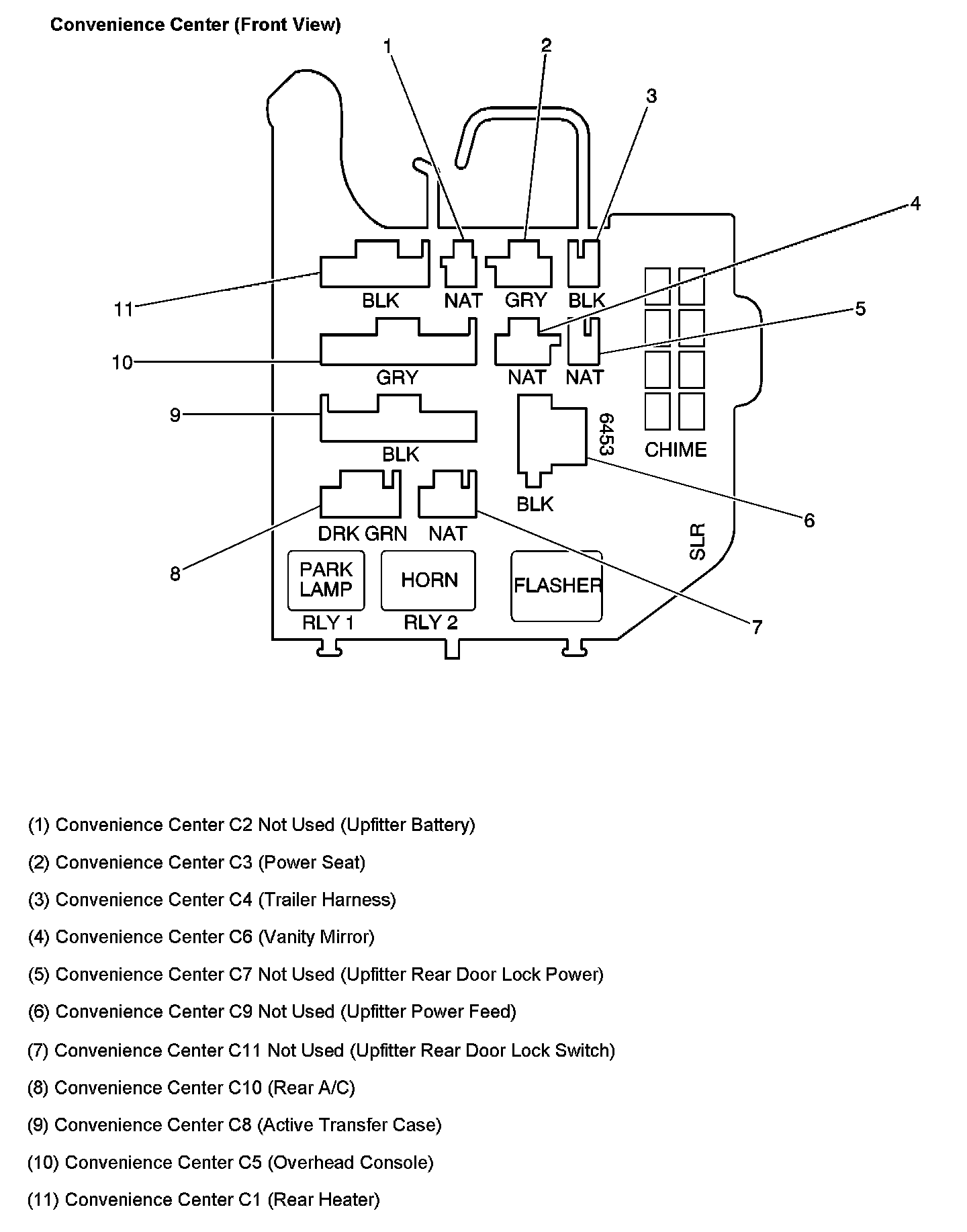
Convenience Center (Front View)
Convenience Center (Front View)
Location View: