Curiosii for ever!
: Car repair manuals for everyone.
Home
>>
Chevy Truck
>>
2002
>>
Tracker 2WD L4-2.0L VIN C
>>
Repair and Diagnosis
>>
Powertrain Management
>>
Transmission Control Systems
>>
Diagrams
>>
Electrical Diagrams
Electrical Diagrams
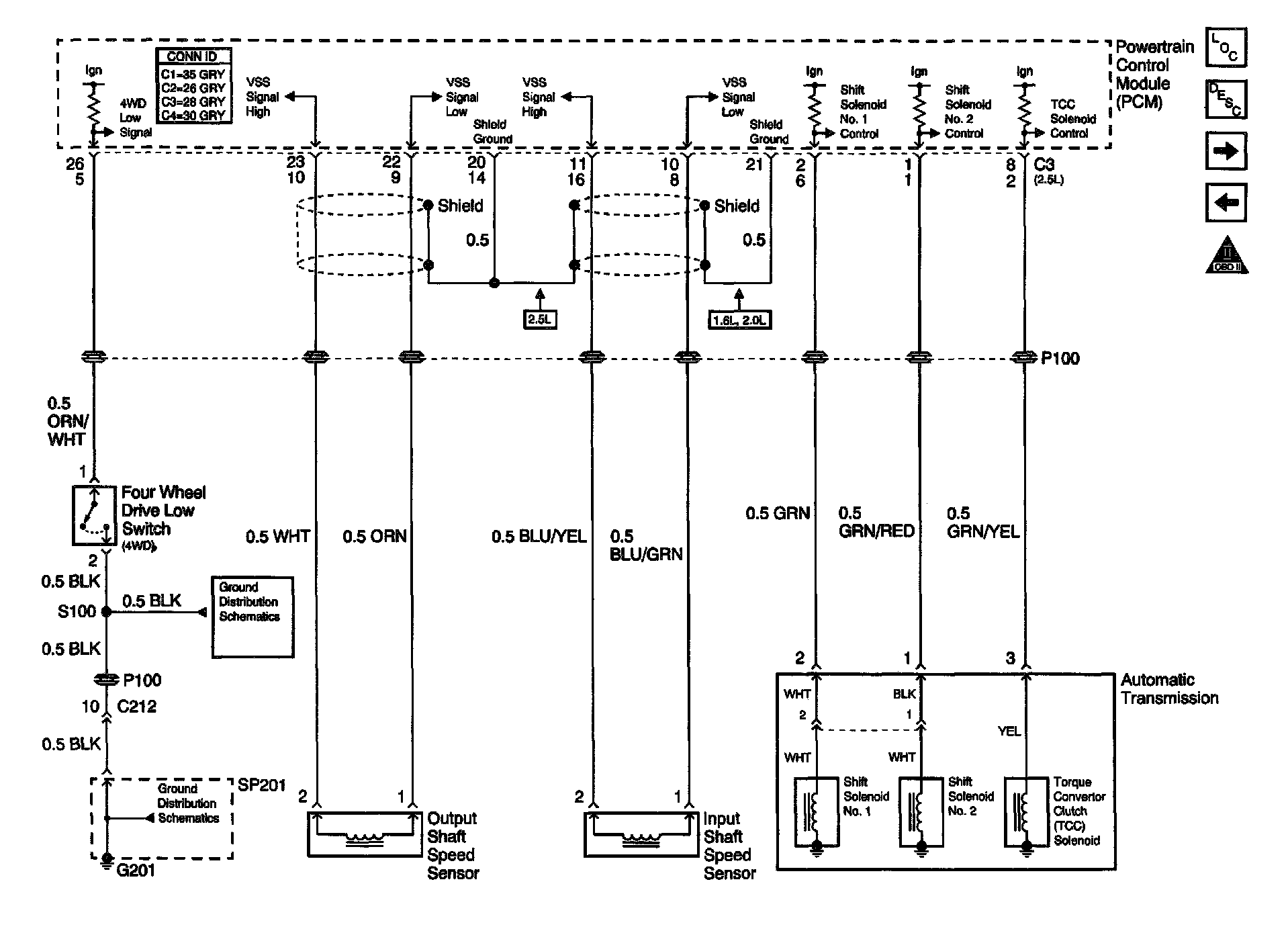
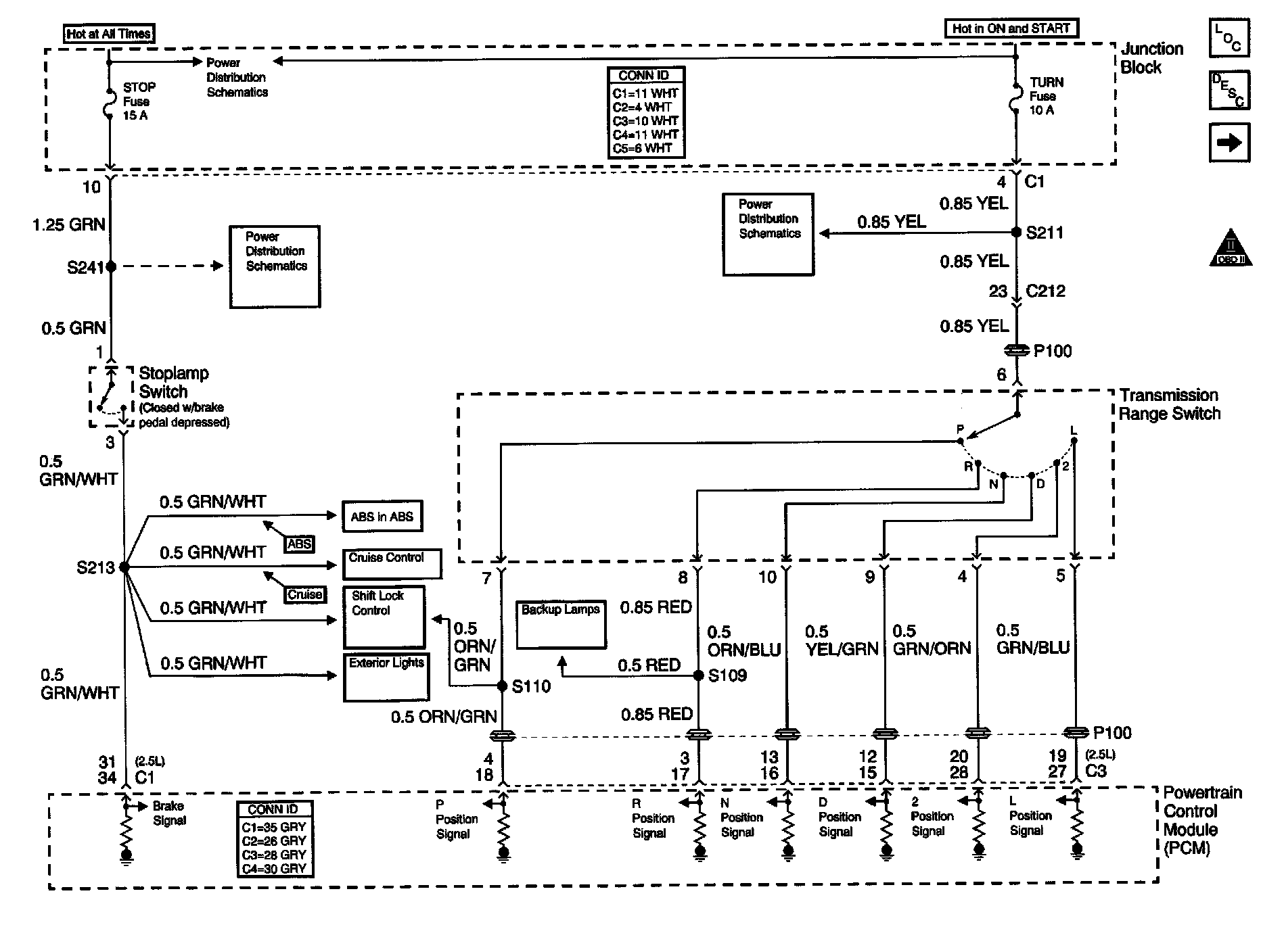
Schematic and Routing Diagrams
Transmission Range Switch
Shift Solenoids and
Speed Sensors
Overdrive and Shift Program Switches