Curiosii for ever!: Car repair manuals for everyone.

On-Board Refueling Vapor Recovery System (ORVR)

On-Board Refueling Vapor Recovery (ORVR) System:




The On-board Refueling Vapor Recovery (ORVR) system is an on-board vehicle system designed to recover fuel vapors during the vehicle refueling operation. Instead of allowing fuel vapors to escape to the atmosphere the ORVR system transports the vapor to the EVAP canister for use by the engine. The flow of liquid fuel down the fuel filler neck provides a liquid seal that prevents fuel vapor from leaving the fuel system. The ORVR system architecture varies from platform to platform. Some of the items listed below are optional depending on the platform application. The following is a list of all the ORVR system components with a brief description of their operation:
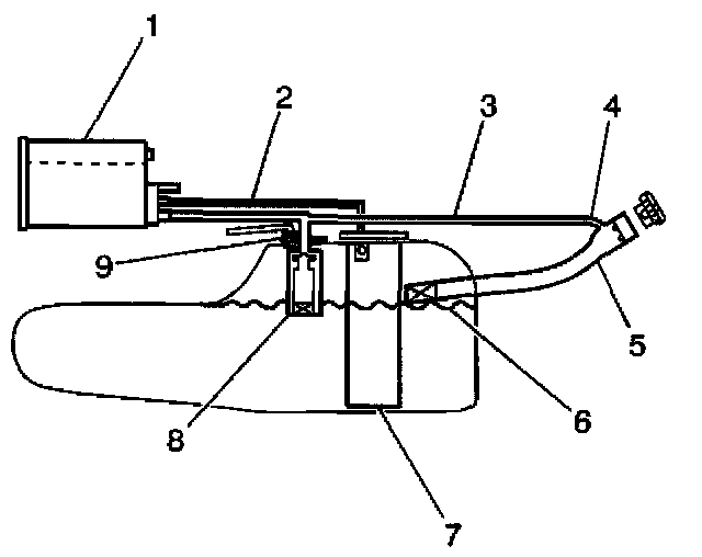
^ The EVAP canister (1) receives and stores refueling vapor from the fuel system. The EVAP canister releases the fuel vapor to the engine through the EVAP control system.
^ The vapor lines (2) transport fuel vapor from the fuel tank assembly to the EVAP canister.
^ The vapor recirculation line (3), if equipped, transports fuel vapor from the fuel tank to the top of the fuel filler pipe during refueling in order to reduce the fuel vapor at the canister. The vapor recirculation line can be located inside the fuel filler pipe or outside of the fuel filler pipe.
^ The variable orifice valve (4), if equipped, regulates the amount of vapor allowed to enter the vapor recirculation line.
^ The fuel filler pipe (5) carries fuel from the fuel dispensing nozzle to the fuel tank.
^ The check valve (6) limits fuel spitback from the fuel tank during the refueling operation by allowing fuel flow only into the fuel tank. The check valve is located at the bottom of the fuel filler pipe or in the fuel tank filler neck.
^ The fuel sender assembly (7) pumps fuel to the engine from the fuel tank.
^ The fill limiter vent valve (8) is located in the fuel tank and acts as a shut-off valve. The fill limiter vent valve performs the following functions:
- Controls the fuel tank fill level by closing the primary vent of the fuel tank.
- Prevents liquid fuel from exiting the fuel tank through the vapor line and entering the EVAP canister.
- Provides fuel-spillage protection in the event of a vehicle rollover by closing the vapor path from the tank to the EVAP canister.
^ The pressure/vacuum relief valve (9), if equipped, provides venting of excessive fuel tank pressure or vacuum. The pressure/vacuum relief valve is located in the fuel filler neck on a plastic fuel tank and in the fill limiter vent valve on a steel fuel tank.