Curiosii for ever!: Car repair manuals for everyone.

Spark Plug Wire Replacement

REMOVAL PROCEDURE

IMPORTANT: Note the correct routing of the wires prior to removal. Incorrect routing may cause the engine to misfire and/or damage to the wires.




1. Carefully release the number 1 spark plug wire from the clip on the number 2-3 ignition coil.

IMPORTANT: Do not pull on the spark plug wire. Internal damage may result.

2. Grasp the spark plug boot and twist one half turn in each direction in order to release the boot.
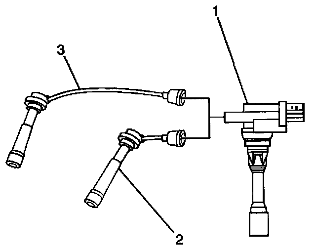
3. Disconnect the number one plug wire (3) from the spark plug and the ignition coil (1).
4. Disconnect the number three plug wire (2) from the spark plug and the ignition coil (1).

INSTALLATION PROCEDURE




1. Connect the number three plug wire (2) to the number 2-3 ignition coil (1).
2. Connect the number three plug wire (2) to the number three spark plug.
3. Connect the number one plug wire (2) to the number 1-4 ignition coil (1).
4. Connect the number one plug wire (2) to the number one spark plug.
5. Secure the number one plug wire in the clip on the number 2-3 ignition coil.