Curiosii for ever!: Car repair manuals for everyone.

EVAP Canister

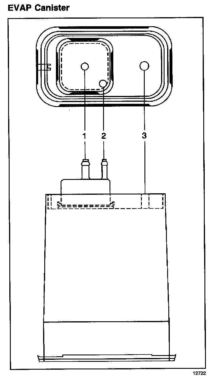
EVAP Canister:







The EVAP canister is a sealed unit with 3 ports.
1. Purge pipe
2. Vapor pipe
3. Vent pipe

The canister is filled with carbon pellets used to absorb and store fuel vapors. Fuel vapor is stored in the canister until the PCM determines that the vapor can be consumed in the normal combustion process.